Качественные детали и логистика
Оригинальные и аналоговые запчасти с доставкой по России, Казахстану и Беларуси
©2022 PartSell ООО "Система" ИНН 2463123282 ОГРН 1212400004838
Центральный офис: г. Красноярск, Академика Киренского, д.87, пом.4
Телефон: 8 (800) 777-65-74 Email: zakaz@partsell.ru
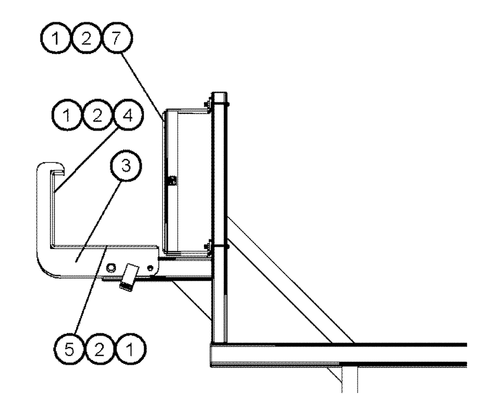
(04-010) - CRADLE & BOOM STOP ASSEMBLY -24 METER BOOM
№
Артикул
Название
Примечание
Количество
1
BN50014
BOLT
5/16"-18 x .75, EH
7шт.
2
BN50057
LOCK NUT,Lock, 5/16"-18, Stainless Steel
3
BN69421
CRADLE
1шт.
4
BN69854
LINER
Plastic, 3/16 X 3 X 9
5
BN69855
Plastic, 3/16 X 3 X 13
6
BN69600
STOP
Boom
7
BN69856
PLATE
Liner-Plastic, 3/16 X 2 X 17.5
Выбрано товаров: 0