Запчасти Case IH SPX3150 (004) - CAB INTERIOR, CONTROLS, ELECTRICAL (90) - PLATFORM, CAB, BODYWORK AND DECALS

Схема запчастей Case IH SPX3150 - (004) - CAB INTERIOR, CONTROLS, ELECTRICAL (90) - PLATFORM, CAB, BODYWORK AND DECALS
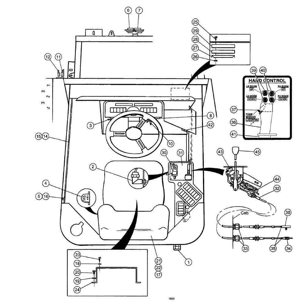
36
12
42
18
16
45
43
23
29
17
32
39
14
19
25
3
27
20
38
8
11
4
2
26
41
28
30
7
22
6
35
37
44
21
33
24
5
34
1
31
15
10
40
FIT
1:1
100%

Артикул

Название

Примечание

Количество

1

BN66132

GROMMET

BATTERY, strain relief

1шт.

2

BN29523

ELBOW

Fitting - Electric-Liquid Tight

1шт.

3

BN63712

FLASHER SWITCH

Dual rate w/handle

1шт.

4

BN67965

POWER SOCKET

Assy, Outlet w/End

1шт.

5

BN67968

SWITCH

Door (Dome Light)

1шт.

BN50975

NUT

#8-32 (Steel)

2шт.

Associate part for BN67968

1шт.

BN52046

BOLT,Pan Hd, Phil, #8 - 32 x 1/2", Stainless

8"-32 x 1/2" SS, PH, Phillip

2шт.

Associate part for BN67968

1шт.

6

BN68784

HORN

12V Hi Tone (Sealed)

1шт.

7

BN68785

HORN

12V Low Tone (Sealed)

1шт.

BN52338

NUT

metric 6m x 1m HH PL 8.8

2шт.

Associate part for BN68785

1шт.

BN68786

SUPPORT

Dual horns

1шт.

Associate part for BN68785

1шт.

BN68787

WIRE HARNESS

Dual horns

1шт.

Associate part for BN68785

1шт.

8

BN319663

BUZZER

Chime Tone

1шт.

10

334554A1

SWITCH

ignition, with 2 keys

1шт.

BN196-48-31C2

KEY, IGNITION

2-Case logo

1шт.

Service part for 334554A1

1шт.

11

BN68182

ACTUATOR

Magnetic, 12V

1шт.

BN68260

SCREW,Hex, #4 - 40 x 1/2", Gr 5

HH, #4-40 x .50, G5, PL

2шт.

Associate part for BN68182

1шт.

BN68261

WASHER

#4, Flat, G5, PL

2шт.

Associate part for BN68182

1шт.

BN50125

NUT

4-40, HH, G5, Plated

2шт.

Associate part for BN68182

1шт.

12

BN68183

ACTUATOR

Magnet

1шт.

BN68260

SCREW,Hex, #4 - 40 x 1/2", Gr 5

HH, #4-40 x .50, G5, PL

2шт.

Associate part for BN68183

1шт.

BN68261

WASHER

#4, Flat, G5, PL

2шт.

Associate part for BN68183

1шт.

BN50125

NUT

4-40, HH, G5, Plated

2шт.

Associate part for BN68183

1шт.

14

BN52047

SCREW,Phil Pan Hd, #8 x 3/4", SST

#8 x 3/4 SS, PH, Phillip

4шт.

15

BN67371

STRIP

Door Stop

1шт.

16

BN69132

EXTENSION

switch, domelight

1шт.

17

BN29361

SAFETY BELT

Retractable BL

1шт.

18

BN50141

WASHER

5/16, FW, G5

4шт.

19

80680

LOCK WASHER,3/8 0.381 CST ZND

6шт.

20

BN50251

BOLT

3/8"-16 x 3/4, HH, G5, PL

6шт.

21

BN68850

SET OF BELTS,14.00" L

2, Set

1шт.

22

BN309290

SEAT ASSY.

air suspension

1шт.

BN301702

SHOCK ABSORBER

Seat

1шт.

Service part for BN309290

1шт.

BN301703

ARMREST

Package, Gray

1шт.

Service part for BN309290

1шт.

BN303238

HANDLE

height adjust

1шт.

23

BN69005

BOLT,Skt Hd, 5/16" x 1"

Sk Hd, 5/16" x 1"

4шт.

24

BN69009

BRACKET

seat mount

1шт.

25

88346

BOLT,Hex, 5/16" - 18 x 2 1/2", Gr 5

2шт.

26

BN55360

LOCK NUT

hex, plated, 5/16-18, NY

2шт.

27

BN68264

COVER

14 ga., HRS, 6.25 x 8.5

1шт.

28

BN68265

RUBBER SEAL

rubber, 1 x 5 x 7

1шт.

29

BN68266

RUBBER SEAL

1 x 5 x 7

1шт.

30

BN50697

BOLT,Hex, 1/4" - 20 x 1/2", SST

4шт.

31

BN68263

CONTROL

shift and throttle

1шт.

32

BN29257

CABLE,Throttle Cable, 2133.6mm L

Control, 84"

1шт.

Can be used instead of PN BN29256

1шт.

BN29256

CABLE,2438.4mm L

Control, 96"

1шт.

Can be used instead of PN BN29257

1шт.

33

BN66117

NUT

Strain Relief-Shift Cable

2шт.

34

BN29258

CLEVIS

Assembly With Pin

1шт.

35

50055

NUT Hex, 5/16"-18 x 7/8", G5, Full Thd

2шт.

36

BN66114

HANDLE

W/Switches (Complete)

1шт.

37

BN98892

SWITCH

Toggle, On-Off-On (Foam Marker)

1шт.

BN98894

JAM NUT

15/32 Jam

1шт.

Associate part for BN98892

1шт.

BN98893

BOOT

Toggle, black

1шт.

Associate part for BN98892

1шт.

38

BALL JOINTTHROTTLE

1шт.

See Fig. 092

1шт.

39

BN98670

SWITCH

Push Button (LH Boom Function)

2шт.

BN98673

BOOT

Yellow

2шт.

Associate part for BN98670

1шт.

40

BN98670

SWITCH

Push Button (RH Boom Function)

2шт.

BN98672

BOOT

Green

2шт.

Associate part for BN98670

1шт.

41

BN29986

INSERT

Grip, 1" Dia x 1.6" Nylon

1шт.

42

BN16018

ALARM

Low Hopper

1шт.

43

BN98249

NEUTRAL START SWITCH

Micro Safe

1шт.

44

BN98248

SWITCH

Backup

1шт.

45

BN98247

KNOB

Assembly - Throttle

1шт.

Выбрано товаров: 84