Запчасти Case IH SPX3150 (018) - CAB EXTERIOR, A/C PACKAGE (90) - PLATFORM, CAB, BODYWORK AND DECALS

Схема запчастей Case IH SPX3150 - (018) - CAB EXTERIOR, A/C PACKAGE (90) - PLATFORM, CAB, BODYWORK AND DECALS
8
1
7
4
2
6
5
13
4
2
3
5
2
2
4
1
4
12
14
1
9
7
5
8
1
4
1
3
3
11
10
6
2
3
FIT
1:1
100%

Артикул

Название

Примечание

Количество

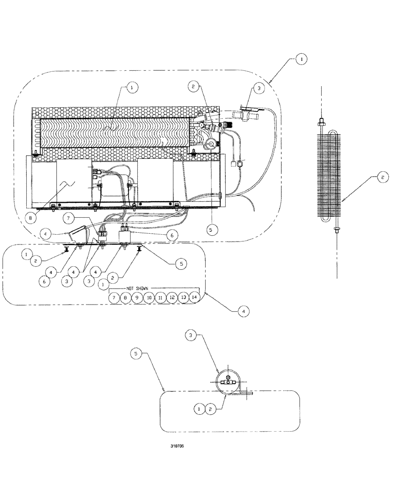
1

BN311013

HOUSING ASSY.

evaporator

1шт.

See Refs. 1 - 8 below

1шт.

2

BN67785

CONDENSER

Coil

1шт.

3

BN67797

RECEIVER-DRYER

1шт.

4

BN311014

PACKAGE

parts, louver & misc.

1шт.

See Refs. 1 - 12 below

1шт.

5

BN311024

PACKAGE

parts, dryer

1шт.

See Refs. 1 - 4 below

1шт.

BN311013

HOUSING ASSY.

evaporator

1шт.

1

BN311015

EVAPORATOR

coil, heater

1шт.

2

BN69702

PRESSURE SWITCH

Low

1шт.

3

BN69708

VALVE

Water, Inline

1шт.

4

BN311016

CABLE

assembly, push pull

1шт.

5

BN69872

VALVE, THERMAL EXPAN,Air Conditioing

Expansion

1шт.

6

BN69703

SWITCH

Cold Control

1шт.

7

73107110

BLOWER SWITCH

3 Speed

1шт.

8

BN69704

BLOWER

12V

1шт.

BN311014

PACKAGE

parts, louver & misc.

1шт.

1

BN311017

LOCK WASHER

external tooth, 1/4

4шт.

2

BN312682

SCREW,Phil, 1/4" - 20 x 1"

1/4-20 x 1" T.H. PHIL

4шт.

3

BN67731

NUT

control mounting

3шт.

4

BN67740

KNOB

control

3шт.

5

BN311018

PLATE

control, with decal

1шт.

6

BN312683

NUT

cable control

1шт.

7

BN67735

VENT

LOUVER, rect. 1-1/4 x 4-1/2

4шт.

8

BN67734

VENT

LOUVER, with hose adapter

2шт.

9

BN67732

VENT

LOUVER, flat 3" dia.

2шт.

10

BN67795

HOSE

Windshield Louvers, 3"

2шт.

11

BN306271

TAPE

tar 10"

3шт.

12

BN67796

TUBE

drain, poly loom

3шт.

13

BN311023

VENT

louver, 4" dia., with wire clip

5шт.

14

BN312684

CLAMP

hose, 3" flex

4шт.

BN311024

PACKAGE

parts, dryer

1шт.

1

BN301704

DECAL

Charge With 134A Gas

1шт.

2

BN67726

CLAMP

receiver dryer

1шт.

Выбрано товаров: 35