Запчасти Case IH SPX3150 (138) - HYDRAULIC PLUMBING, 60 AND 75 BOOMS (35) - HYDRAULIC SYSTEMS

Схема запчастей Case IH SPX3150 - (138) - HYDRAULIC PLUMBING, 60 AND 75 BOOMS (35) - HYDRAULIC SYSTEMS
10
12
7
14
21
27
11
11
4
3
8
8
2
16
8
8
13
15
1
15
13
7
7
8
19
18
7
21
8
20
16
12
8
8
20
17
21
6
26
4
16
2
5
7
19
28
7
14
7
FIT
1:1
100%

Артикул

Название

Примечание

Количество

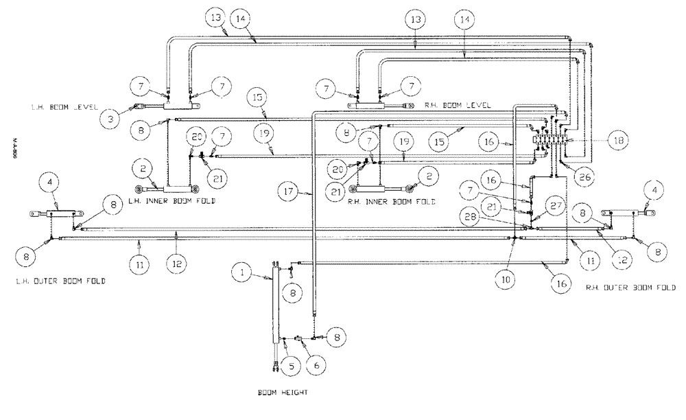
1

NSS

NOT SOLD SEPARAT

CYLINDER hydraulic, boom height

1шт.

See Fig. 153

1шт.

2

NSS

NOT SOLD SEPARAT

CYLINDER hydraulic, inner boom fold

2шт.

See Fig. 154

1шт.

3

NSS

NOT SOLD SEPARAT

CYLINDER hydraulic, boom level

2шт.

See Fig. 158

1шт.

4

NSS

NOT SOLD SEPARAT

CYLINDER hydraulic, outer boom fold

2шт.

See Fig. 157

1шт.

5

BN51665

FITTING

NIPPLE, 3/8", close

1шт.

6

BN53681

HYDRAULIC VALVE

snubber

1шт.

7

BN22158

ADAPTER,3/8" NPT X 7/16"-20, 37 Degree

7шт.

8

BN21401

ELBOW,90 Degree 3/8" NPT x 7/16"-20 JIC

8шт.

10

BN21422

TEE

7/16-20 JIC

1шт.

11

BN54167

HOSE ASSEMBLY, 1/4" x 266", 60' boom

2шт.

BN53849

HOSE,0.25" ID x 305.00", SAE 100R1

2шт.

Same general part as BN54167 except oposote side

1шт.

12

BN54171

HOSE ASSEMBLY, 1/4" x 256", 60' boom

2шт.

BN53848

HOSE,0.25" ID x 295.00", SAE 100R1

Assembly

2шт.

Same general part as BN54171 except opposite side

1шт.

13

BN54175

HOSE

1/4" x 182"

2шт.

14

BN54174

HOSE

1/4" ID x 174", 100R1

2шт.

15

BN310485

HOSE,0.25" ID x 137.00"

2шт.

16

BN54177

HOSE

1/4" ID x 96", 100R1

3шт.

17

BN54178

HOSE,6.35mm ID x 1676.4mm L, SAE 100R1

1/4" x 66"

1шт.

18

NSS

NOT SOLD SEPARAT

VALVE 7 bank

1шт.

See Fig. 142

1шт.

19

BN310484

HOSE,0.25" ID x 120.00"

2шт.

20

BN51123

ADAPTER

90º, 3/8-18 NPT

2шт.

21

BN53856

HYDRAULIC VALVE

needle

3шт.

26

BN22160

ELBOW

90° 9/16-18 O-Ring X 7/16-20 JIC

14шт.

BN98019

O-RING

#6, Part of assembly 22160

14шт.

27

BN51352

BUSHING

1/4-18 x 3/8-18 NPT

1шт.

28

BN53711

TEE

1/4 NPT x 7/16-20 JIC

1шт.

Выбрано товаров: 33