Запчасти Case IH SPX3150 (149) - HYDRAULIC PLUMBING, AUX SYSTEM INTANK RETURN FILTER (35) - HYDRAULIC SYSTEMS

Схема запчастей Case IH SPX3150 - (149) - HYDRAULIC PLUMBING, AUX SYSTEM INTANK RETURN FILTER (35) - HYDRAULIC SYSTEMS
7
4
6
11
13
12
3
9
15
8
1
2
10
5
14
FIT
1:1
100%

Артикул

Название

Примечание

Количество

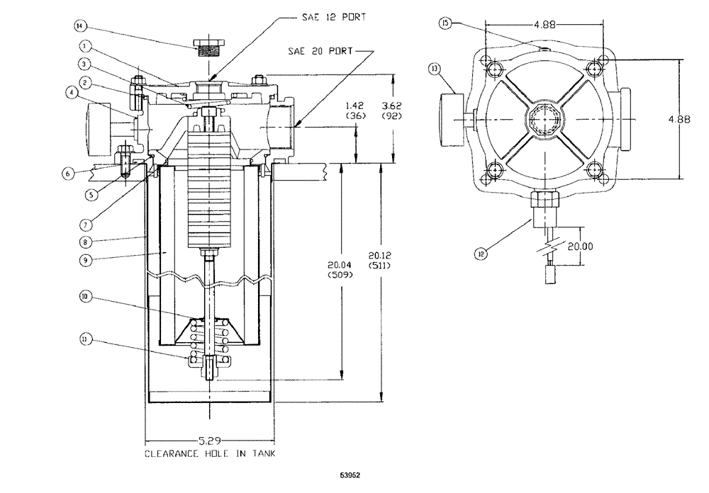
1

BN54259

COVER

Filter Assembly

1шт.

2

BN54260

O-RING

Cover, Buna

1шт.

3

BN54261

COIL SPRING

conical

1шт.

4

BN54262

HEAD

1шт.

5

BN54263

O-RING

insert, Buna

1шт.

6

BN54264

GASKET

Tank, Buna

1шт.

7

BN54265

SEAL

by pass, BUNA

1шт.

8

BN54266

FILTER

DIFFUSOR

1шт.

9

BN313778

FILTER

element

1шт.

10

BN54267

O-RING

element

1шт.

11

BN54268

BY PASS ASSEMBLY

1шт.

12

BN53955

PRESSURE SWITCH

Electrical

1шт.

13

BN311360

INDICATOR

GAUGE pressure

1шт.

14

BN54270

PLUG

External, W/O-Ring #12

1шт.

15

BN54271

PLUG

internal hex, 1/4 NPT

1шт.

BN54269

SEAL KIT

1шт.

Service part for BN54271

1шт.

Выбрано товаров: 17