Запчасти Case IH SPX3185 (155) - CYLINDERS, INNER BOOM FOLD, 90 BOOM (35) - HYDRAULIC SYSTEMS

Схема запчастей Case IH SPX3185 - (155) - CYLINDERS, INNER BOOM FOLD, 90 BOOM (35) - HYDRAULIC SYSTEMS
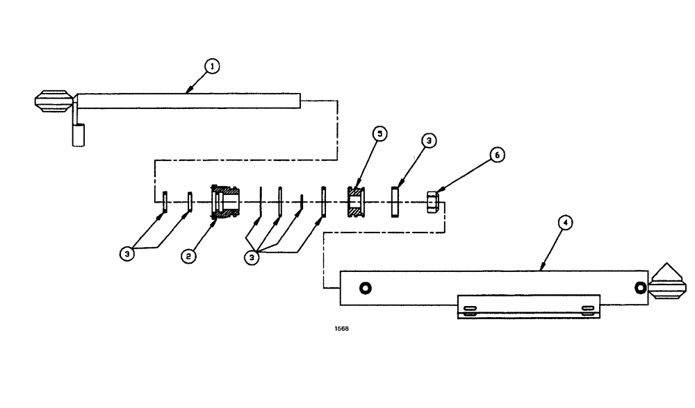
2
5
4
3
3
1
3
6
FIT
1:1
100%

Артикул

Название

Примечание

Количество

0

BN68751

CYLINDER

Complete Inner Boom Fold, RH

1шт.

0

BN68750

CYLINDER ASSY.

Complete Inner Boom Fold, LH

1шт.

1

BN69903

SHAFT

RH

1шт.

BN69904

SHAFT

LH

1шт.

Same general part as BN69903 but opposite side

1шт.

2

BN69786

GLAND

end

1шт.

3

BN69787

SEAL KIT

1шт.

Item 3 is a complete seal kit. Parts shown are for the screw on end gland. When replacing, take note on how old seals are positioned.

1шт.

4

BN69908

TUBE RH

1шт.

BN69905

TUBE LH

1шт.

Same general part as 69908 but opposite side

1шт.

5

BN69789

PISTON

1шт.

6

BN69790

LOCK NUT

1шт.

Выбрано товаров: 13