Запчасти Case IH SPX3185 (09-018) - LIQUID PLUMBING - SIGHT GAGE ASSEMBLY Liquid Plumbing

Схема запчастей Case IH SPX3185 - (09-018) - LIQUID PLUMBING - SIGHT GAGE ASSEMBLY Liquid Plumbing
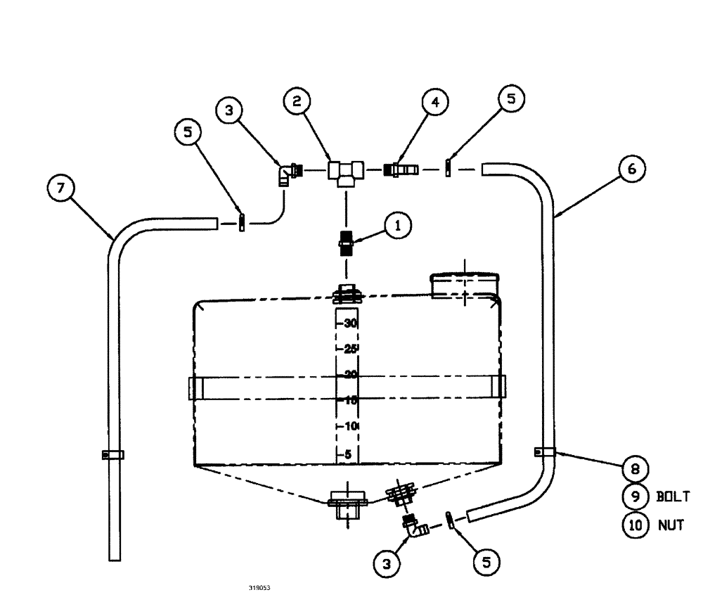
6
5
5
5
7
3
4
3
10
2
1
8
9
FIT
1:1
100%

Артикул

Название

Примечание

Количество

1

BN73565

NIPPLE,3/4" Male NPT x 3/4" Male NPT, Poly

3/4" Short Pipe, Poly

1шт.

2

BN73560

TEE

3/4" poly pipe

1шт.

3

BN73562

FITTING,3/4" Male Thread x 3/4" 90 Degree Hose Barb

3/4" NPT x 3/4" Hose Barb, 90°

2шт.

4

BN73561

FITTING

BARB, 3/4NPT x 3/4HS

1шт.

5

BN75978

HOSE CLAMP

SS - #12 ADJ HS .56-1.25

3шт.

6

BN319035

HOSE,0.75" ID x 46.00"

Sight gauge

2шт.

7

BN53883

HOSE

3/4" EPDM x 50"

1шт.

8

86625038

CLAMP,25.4mm, Coat, 13.5mm Bolt Hole, P Type

2шт.

9

BN50250

BOLT,3/8"-16 x 3/4", Stainless Steel

2шт.

9

BN50250

BOLT,3/8"-16 x 3/4", Stainless Steel

2шт.

10

BN50759

LOCK NUT,3/8"-16, Nylon, Stainless

2шт.

Выбрано товаров: 11