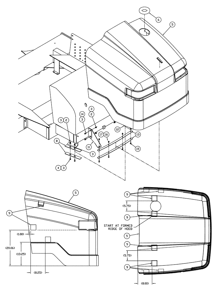
Запчасти Case IH SPX3200 (04-001) - FUEL TANK HOOD GROUP Suspension & Frame

Схема запчастей Case IH SPX3200 - (04-001) - FUEL TANK HOOD GROUP Suspension & Frame
3
3
2
8
4
9
2
12
14
17
3
9
15
9
5
3
13
16
11
9
9
3
6
5
5
FIT
1:1
100%

Артикул

Название

Примечание

Количество

2

86980515

NUT,Hex, M10 x 1.5, Cl 8.8, DOR

8шт.

3

BN300499

WASHER,M10, 10.9

18шт.

4

86980404

BOLT,Hex, M10 x 1.5 x 45mm, Cl 8.8

4шт.

5

BN315078

HOOD

Fuel Tank 3200B

1шт.

6

BN316498

GROMMET

Hood

1шт.

8

BN319318

PLATE

stress relief

4шт.

9

86986299

FOAM

Hood Side Supplemental, 3XXX

8шт.

BN54039

ADHESIVE

Spray 18 oz

1шт.

11

BN321204

SUPPORT

hood, RH

1шт.

12

BN321205

SUPPORT

hood, LH

1шт.

13

BN311771

MOUNTING PLATE

Front

2шт.

14

86980400

BOLT,Hex, M10 x 25mm, Cl 8.8, Full Thd

4шт.

15

87342174

CARRIAGE BOLT,Short Sq Nk, M8 x 1.25 x 30mm, Cl 8.8

RHD SSQNK M8 X 30 FULL 8.8

4шт.

16

9991588

NUT,M8 x 1.25, Cl 8

4шт.

17

87529315

WASHER,9mm ID x 17mm OD x 2mm Thk

9 x 17 x 2 mm, HDN, DOR

4шт.

Выбрано товаров: 0