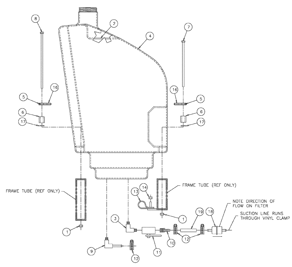
Запчасти Case IH SPX3200 (04-002) - FUEL TANK GROUP Suspension & Frame

Схема запчастей Case IH SPX3200 - (04-002) - FUEL TANK GROUP Suspension & Frame
14
5
12
6
4
16
11
1
17
6
2
5
19
16
8
7
13
3
1
18
17
10
9
12
FIT
1:1
100%

Артикул

Название

Примечание

Количество

1

86992215

LOCK NUT,1/2"-13, GC

4шт.

2

BN66125

SENDER UNIT

SENDER Fuel 12V, 25"

1шт.

3

BN52300

ELBOW

90 Degree, 1/4-18 Npt

1шт.

4

BN67342

FUEL TANK

1шт.

4a

BN68502

CAP

Used on Fuel Tank

1шт.

5

BN67652

PLATE

Tank Hold Down

4шт.

6

BN67653

BUSHING

TB, RD, bushing

4шт.

7

280214

BOLT,Hex, 1/2" - 13 x 8 1/2", Gr 5

2шт.

8

413-8168

BOLT,Hex, 1/2" - 13 x 10-1/2", Gr 5

2шт.

9

217-132

90 ELBOW,90 Degree Elbow, 3/8" Hose Barb x 1/4" Male NPTF

1шт.

10

BN72017

HOSE

barb-1/4" NPTM x 3/8" steel

1шт.

11

BN94071

VALVE

Bronze Ball 1/4NPT

1шт.

12

87485000

CLAMP,0.25" - 0.62"

#4, Stainless Steel

3шт.

13

86624005

CLAMP,19mm, Coat, 10.3mm Bolt Hole, P Type

1шт.

14

88902

NUT,3/8"-16

1шт.

16

BN320693

Nylon Sleeve 4" W/Hole

4шт.

17

BN50595

WASHER,1/2", Stainless

4шт.

18

D139225

FILTER, FUEL

3/8" Barbs

1шт.

19

BN317990

FUEL HOSE,0.375" ID x 3.00", SAE 30R6, SAE 30R7

1шт.

Выбрано товаров: 19