Запчасти Case IH SPX3200 (04-003) - MIRROR GROUP Suspension & Frame

Схема запчастей Case IH SPX3200 - (04-003) - MIRROR GROUP Suspension & Frame
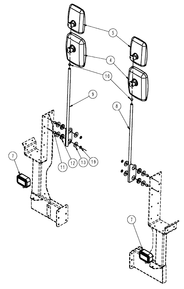
11
4
7
8
10
5
19
13
7
9
12
FIT
1:1
100%

Артикул

Название

Примечание

Количество

4

365414A1

MIRROR

head, manual, 1800 mm

2шт.

5

87268397

MIRROR

Head, R450 mm

2шт.

7

BN66130

FLASHER LAMP

Signal, Amber 12V

2шт.

8

BN320142

BRACKET, SUPPORTING

Mount, Mirror, Upper LH

1шт.

9

BN320141

BRACKET, SUPPORTING

Mount, Mirror, Upper RH

1шт.

10

BN304439

PLUG

Dash 11/16

2шт.

11

BN320164

BUSHING

Mirror Bracket

4шт.

12

BN320147

GROMMET

2 X 3/4 X 7/16

4шт.

13

BN320165

WASHER

Washer, Mirror Bracket

8шт.

19

496-11012

WASHER

M12, FW, 8.8, ZND

4шт.

Выбрано товаров: 0