Качественные детали и логистика
Оригинальные и аналоговые запчасти с доставкой по России, Казахстану и Беларуси
©2022 PartSell ООО "Система" ИНН 2463123282 ОГРН 1212400004838
Центральный офис: г. Красноярск, Академика Киренского, д.87, пом.4
Телефон: 8 (800) 777-65-74 Email: zakaz@partsell.ru
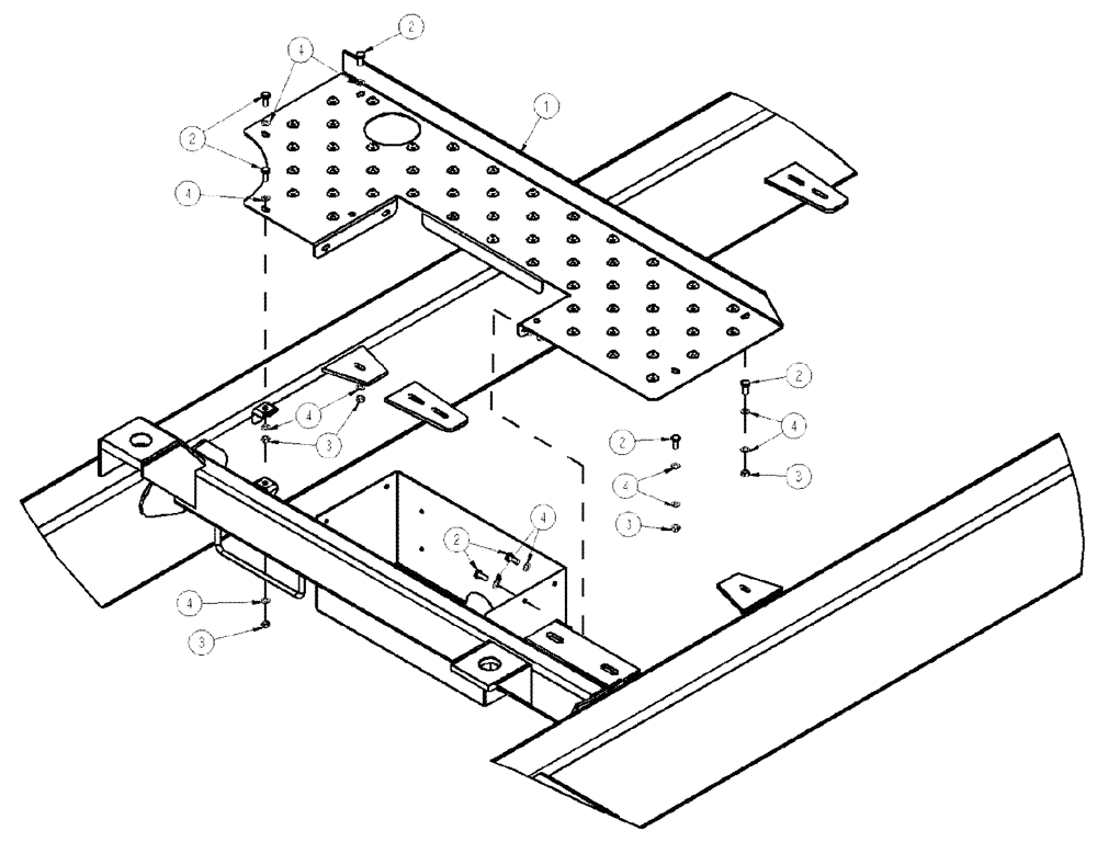
(04-011) - WALKWAY GROUP, CENTER SECTION
№
Артикул
Название
Примечание
Количество
1
86986983
EXTENSION
Walkway, Center
1шт.
2
120104
BOLT,Hex, M8 x 1.25 x 20mm, Cl 8.8
9шт.
3
86528579
NUT,M8 x 1.25
4
86624184
WASHER,9mm ID x 16mm OD x 1.6mm Thk
11шт.
Выбрано товаров: 0