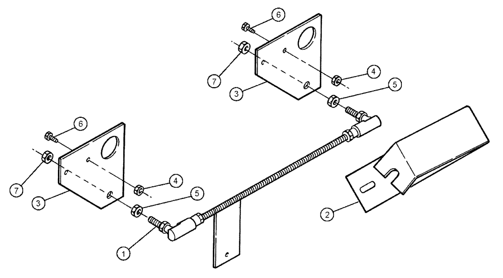
Запчасти Case IH SPX3200 (03-040) - HYDROSTAT LINKAGE PACKAGE (01) - ENGINE

Схема запчастей Case IH SPX3200 - (03-040) - HYDROSTAT LINKAGE PACKAGE (01) - ENGINE
7
4
4
5
1
2
5
3
7
6
3
6
FIT
1:1
100%

Артикул

Название

Примечание

Количество

1

BN24907

LINKAGE

Rod Assembly, Hydrostat

1шт.

BN24906

ROD

Linkage

1шт.

Parts Of linkage-Rod Assembly., P/N BN24907

1шт.

86509310

NUT,3/8" - 24, Gr 5

2шт.

Parts Of linkage-Rod Assembly., P/N BN24907

1шт.

D149295

BALL JOINT,3/8"

3/8"-24 Ends

2шт.

Parts Of linkage-Rod Assembly., P/N BN24907

1шт.

2

BN24921

BRACKET

Mount-1/4" Hr 1.75 x 10.70

1шт.

3

BN25901

BRACKET

7 ga. 3" x 3" 304 SS

2шт.

4

280129

NUT,1/4"-20

4шт.

5

86509310

NUT,3/8" - 24, Gr 5

2шт.

6

9707580

BOLT,Hex, 1/4" - 20 x 3/4", Gr 5, Full Thd

4шт.

7

BN50995

LOCK NUT

3/8"-24 UNF, Centerloc

2шт.

Выбрано товаров: 13