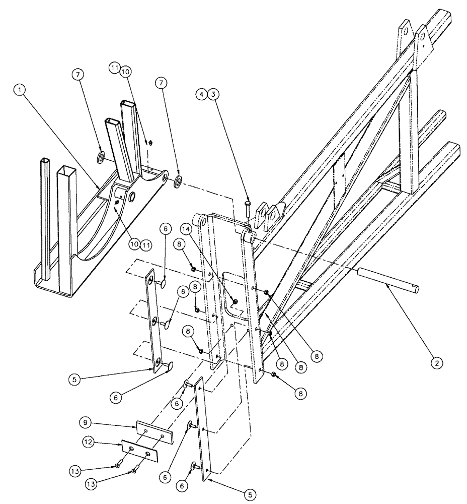
Запчасти Case IH SPX3200 (08-016) - OUTER BOOM ASSEMBLY, LH - 80 (09) - BOOMS

Схема запчастей Case IH SPX3200 - (08-016) - OUTER BOOM ASSEMBLY, LH - 80 (09) - BOOMS
5
6
14
8
6
13
11
4
12
8
6
10
8
7
8
13
1
2
11
9
8
5
6
10
7
8
3
8
6
6
FIT
1:1
100%

Артикул

Название

Примечание

Количество

1

BN320281

BOOM

LH Outer, 80'

1шт.

2

BN307893

PIN,25.4mm OD x 236.47mm L

V-Fold

1шт.

3

86624080

HEADED PIN,9.53mm OD x 50.8mm L

1шт.

4

80755

COTTER PIN,1/8" OD x 1" L

1шт.

5

BN69856

PLATE

Liner, Plastic 3/16 X 2 X 17.50

2шт.

6

BN50014

BOLT

5/16"-18 x .75, EH

8шт.

7

87016608

WASHER,25.8mm ID x 44.5mm OD x 5mm Thk

2шт.

8

BN50057

LOCK NUT,Lock, 5/16"-18, Stainless Steel

8шт.

9

BN305437

BUMPER

Rubber, 2 X 6 X .63

1шт.

10

BN302051

NIPPLE, LUBE,M8 x 1, Straight

NIPPLE 8 mm x 1 Straight

2шт.

11

BN55015

NIPPLE, LUBE

NIPPLE Lithium 12-Grade

1шт.

Выбрано товаров: 0