Качественные детали и логистика
Оригинальные и аналоговые запчасти с доставкой по России, Казахстану и Беларуси
©2022 PartSell ООО "Система" ИНН 2463123282 ОГРН 1212400004838
Центральный офис: г. Красноярск, Академика Киренского, д.87, пом.4
Телефон: 8 (800) 777-65-74 Email: zakaz@partsell.ru
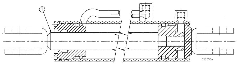
(07-001) - AXLE ADJUST
№
Артикул
Название
Примечание
Количество
1
BN325018
ROD
HYD CYL
1шт.
BN98643
SEAL KIT
Hyd. Cylinder (53906)
BN322058
HYDRAULIC CYLINDER,Double Acting, 31.75mm Rod, 406.4mm Stroke
COMPLETE ASSY
Выбрано товаров: 0