Запчасти Case IH SPX3200 (06-033) - HYDRAULIC FOLD FRONT LADDER (90) - PLATFORM, CAB, BODYWORK AND DECALS

Схема запчастей Case IH SPX3200 - (06-033) - HYDRAULIC FOLD FRONT LADDER (90) - PLATFORM, CAB, BODYWORK AND DECALS
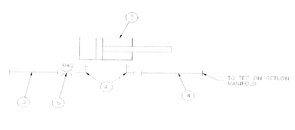
4
4
5
3
2
FIT
1:1
100%

Артикул

Название

Примечание

Количество

1

BN51591

ELBOW

90° - O-Ring 37 FL 7/16

2шт.

2

NSS

NOT SOLD SEPARAT

CYLINDER, 1 x 6, SAE ports

1шт.

See Fig. 07-009

1шт.

3

BN316464

HOSE ASSY.

4 x 97"

1шт.

4

BN316465

HOSE ASSY.

4 x 148"

1шт.

5

BN319640

RESTRICTOR VALVE

ORIFICE, 4JIC (.042)

1шт.

6

BN50075

NUT

1/2-20 hex SS

1шт.

7

86624079

HEADED PIN,3/8" x 1 1/4", G2

1шт.

8

BN71006

COTTER PIN

1/8", #11

2шт.

9

439-1824

HEADED PIN,1/2" x 1 1/2", G2

1шт.

11

BN21982

CLEVIS,1/2" - 20

1" Diameter CRS x 1.87

1шт.

Выбрано товаров: 11