Запчасти Case IH SPX3200 (03-080) - RADIATOR COVERS GROUP (10) - ENGINE

Схема запчастей Case IH SPX3200 - (03-080) - RADIATOR COVERS GROUP (10) - ENGINE
8
1
10
7
9
6
6
5
2
4
3
11
FIT
1:1
100%

Артикул

Название

Примечание

Количество

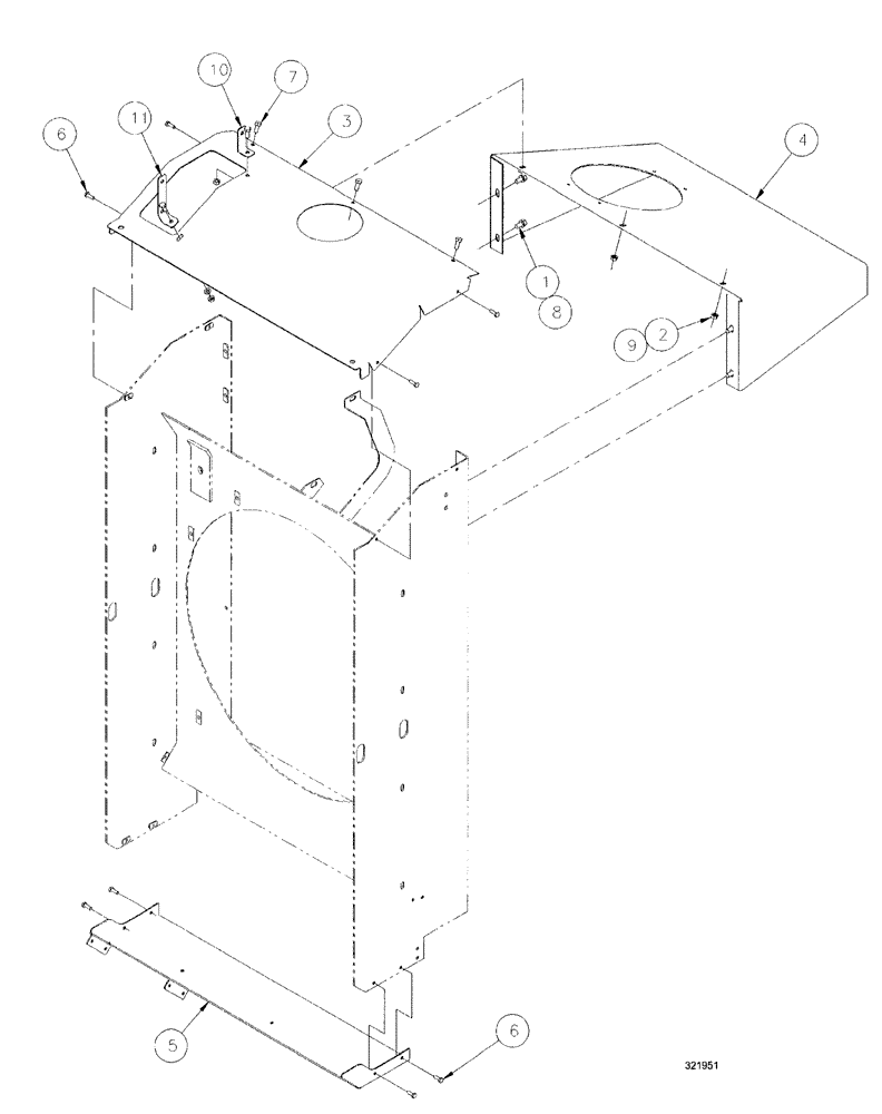
1

BN300175

WASHER

3/8", G8

4шт.

2

86637953

WASHER,0.34" ID x 0.69" OD x 0.09" Thk

4шт.

3

BN321953

COVER

top, radiator

1шт.

4

BN321954

HOOD

RAD/oil tank

1шт.

5

BN321956

COVER

bottom

1шт.

6

9707580

BOLT,Hex, 1/4" - 20 x 3/4", Gr 5, Full Thd

8шт.

7

87872

BOLT,Hex, 5/16" - 18 x 3/4", Gr 5

5шт.

8

86500692

BOLT,Hex, 3/8" - 16 x 3/4", Gr 8, Full Thd

4шт.

9

280736

NUT,5/16"-18, GC

5шт.

10

BN322847

BRACKET, SUPPORTING

MOUNT, bottle, upper

1шт.

11

BN322848

BRACKET

Bottle, Lower

1шт.

Выбрано товаров: 11