Качественные детали и логистика
Оригинальные и аналоговые запчасти с доставкой по России, Казахстану и Беларуси
©2022 PartSell ООО "Система" ИНН 2463123282 ОГРН 1212400004838
Центральный офис: г. Красноярск, Академика Киренского, д.87, пом.4
Телефон: 8 (800) 777-65-74 Email: zakaz@partsell.ru
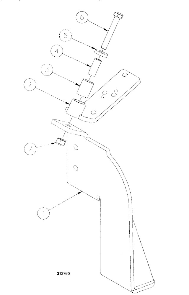
(04-038[00]) - HOSE PIVOT MOUNT ASSEMBLY - LR
№
Артикул
Название
Примечание
Количество
1
BN313660
MOUNTING PARTS
pivot, RH
1шт.
2
BN313649
hose, LH
3
BN313618
BUSHING,16.15mm ID x 26.42mm OD x 35.05mm L
UHMW
4
BN313619
BUSHING,12.7mm ID x 16mm OD x 38.1mm L
tube
5
BN313639
WASHER
M12, 30 mm od
6
43158
BOLT,Hex, M12 x 80mm, Cl 8.8
7
100038
NUT,M12 x 1.75, Cl 8
Выбрано товаров: 0