Запчасти Case IH SPX3200 (06-012) - STEEL LINES GROUP (35) - HYDRAULIC SYSTEMS

Схема запчастей Case IH SPX3200 - (06-012) - STEEL LINES GROUP (35) - HYDRAULIC SYSTEMS
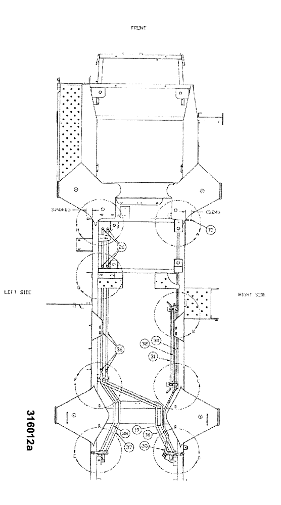
37
36
19
31
15
30
33
20
18
32
38
FIT
1:1
100%

Артикул

Название

Примечание

Количество

1

280736

NUT,5/16"-18, GC

2шт.

2

BN29769

BRACKET

Mount, 7GA HRS 3 x 7.25

1шт.

3

BN29770

MOUNTING PARTS

7 ga HRS 3.75 x 7.5

1шт.

4

BN29771

MOUNTING PARTS

7 ga HRS 3 x 10.25

1шт.

5

BN29782

CLAMP

Single (3/4" Tube)

1шт.

6

BN29783

CLAMP

Single, 1/2" Tube

5шт.

8

BN29785

PLATE

Cover, Single, 1/2" Tube

5шт.

9

BN300175

WASHER

3/8", G8

4шт.

10

88902

NUT,3/8"-16

2шт.

11

86632587

WASHER,0.28" ID x 0.62" OD x 0.07" Thk

13шт.

12

86637953

WASHER,0.34" ID x 0.69" OD x 0.09" Thk

2шт.

13

BN307080

CLAMP

pair -1" tube

14шт.

14

BN307081

PLATE

top, clamp -1" tube

15шт.

15

BN323702

TUBE

steel, hyd. line

1шт.

16

BN313247

RAIL

C, std duty

7шт.

17

BN313262

NUT

c-rail (1/4" -20)

28шт.

18

BN316490

HOSE ASSY.

tube, steel hyd., LH

1шт.

19

BN316491

TUBE

tube, steel hyd., RH

1шт.

20

BN315019

TUBE ASSY.

hydraulic, steel

4шт.

21

BN316002

MOUNTING PARTS

tube, steering

1шт.

22

BN316101

SPACER

C-rail, hyd. tube

7шт.

23

86505867

BOLT,Hex, 1/4" - 20 x 1", Gr 5

3шт.

24

280112

BOLT,Hex, 1/4" - 20 x 1-1/2", Gr 5

30шт.

25

88011

BOLT,Hex, 3/8" - 16 x 1 1/4", Gr 5

2шт.

26

87405

BOLT,Hex, 1/4" - 20 x 2 1/4", Gr 5

4шт.

27

88346

BOLT,Hex, 5/16" - 18 x 2 1/2", Gr 5

2шт.

28

87404

BOLT,Hex, 1/4" - 20 x 2", Gr 5

8шт.

29

280129

NUT,1/4"-20

17шт.

30

BN66212

TUBE ASSY.

steel, 1/2" OD

1шт.

31

BN66214

TUBE ASSY.

Steel, 1/2"

1шт.

32

BN67650

HYD TUBE

Steel, 3/4", 2350 PSI

1шт.

33

BN67649

HYD TUBE

Steel, 3/4", 2350 PSI

1шт.

34

BN67651

CLAMP

Dual

2шт.

35

BN63861

COVER

Plate, Dual 3/4" Clamp

2шт.

36

BN53730

O-RING,0.07" Thk x 0.926" ID, -21, Cl 6, 90 Duro

ARP Standard #021

4шт.

37

BN316499

TUBE

tube, steel hyd., 1"

1шт.

38

BN316500

HOSE ASSY.

tube, steel hyd., 1"

1шт.

Выбрано товаров: 37