Запчасти Case IH SPX3200B (110) - SWITCH MOUNTING ASSEMBLY (78) - SPRAYING

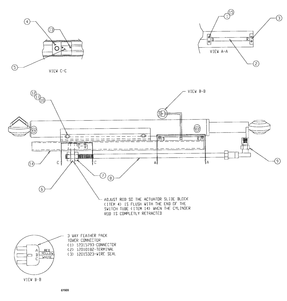
Схема запчастей Case IH SPX3200B - (110) - SWITCH MOUNTING ASSEMBLY (78) - SPRAYING
6
10
5
12
13
11
3
4
7
14
2
15
9
1
8
FIT
1:1
100%

Артикул

Название

Примечание

Количество

1

BN67419

BOLT,Slot Hd, #8 - 32 x 0.38"

8-32 x .38 Slot Head

4шт.

2

BN315230

SWITCH

Proximity Autocenter

1шт.

3

BN67416

PLATE

Tab Switch Mount

2шт.

4

BN66995

ACTUATOR

Slide Block

1шт.

5

BN66993

ACTUATOR

Magnetic

1шт.

6

BN67001

ROD,5/8" - 18

EYE, .625

1шт.

7

BN50083

NUT

5/8-18 Hex

4шт.

8

BN67262

THREADED ROD

5/8"-18

1шт.

9

BN67261

BALL JOINT,5/8" -18 x 2-1/2"

Rod Eye .625

1шт.

10

BN50054

NUT,1/4"-20, SS

4шт.

11

BN50671

BOLT,1/4"-20 x 1.00", Stainless Steel

4шт.

12

BN50140

LOCK WASHER

Spring, 1/4", SS

4шт.

13

BN67421

SCREW,#6 x 3/4"

#6 x .75, Type F

4шт.

14

BN67417

TUBE

Weldment Switch

1шт.

Выбрано товаров: 0