Качественные детали и логистика
Оригинальные и аналоговые запчасти с доставкой по России, Казахстану и Беларуси
©2022 PartSell ООО "Система" ИНН 2463123282 ОГРН 1212400004838
Центральный офис: г. Красноярск, Академика Киренского, д.87, пом.4
Телефон: 8 (800) 777-65-74 Email: zakaz@partsell.ru
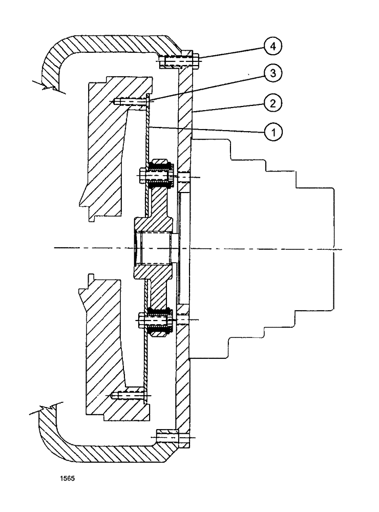
(019) - FLYWHEEL COUPLER ASSEMBLY
№
Артикул
Название
Примечание
Количество
0
BN25680
COUPLING
Flywheel & Mount Plate Assembly
1шт.
Includes Refs. 1 & 2
1
BN309955
FLYWHEEL
coupler
2
BN309956
PLATE
pump mount
3
BN311109
NUT
HH, 3/8"-16 x .75, G8
8шт.
4
43140
BOLT,Hex, M10 x 1.5 x 30mm, Cl 8.8
10шт.
+
86624978
BOLT,Hex, M10 x 35mm, Cl 10.9, Full Thd
2шт.
+ Indicates associated part
Hydrostat cable mount
BN300499
WASHER,M10, 10.9
ns
NSS
NOT SOLD SEPARAT
PKG., linkage, hydrostat
See Fig. 052
Выбрано товаров: 0