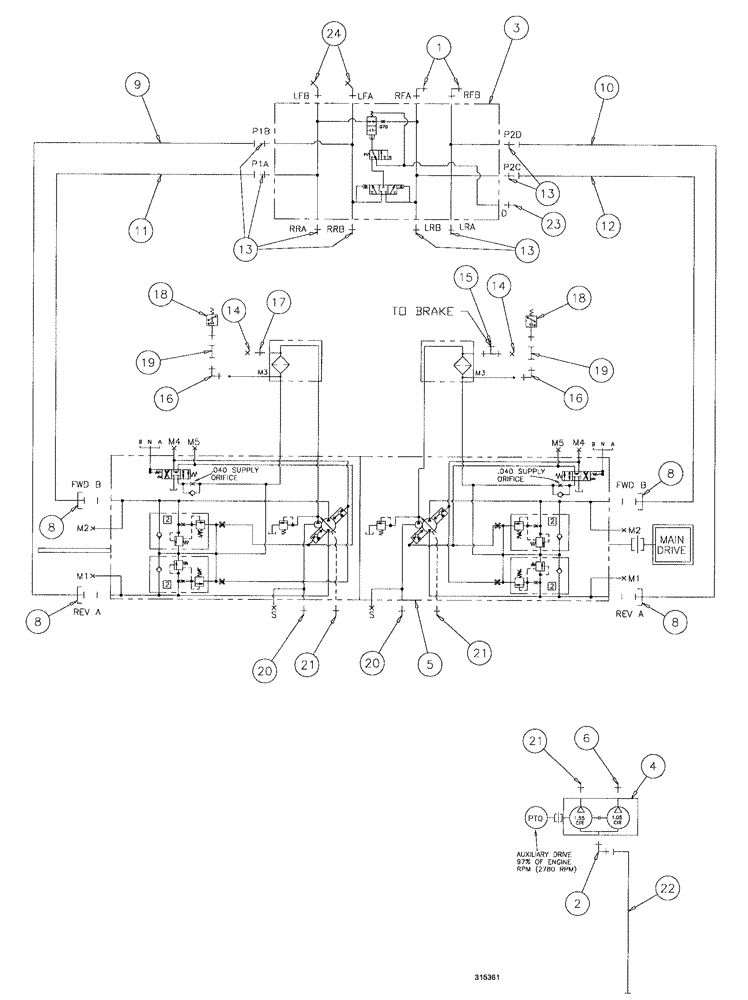
Запчасти Case IH SPX3200B (085) - HYDROSTATIC PUMP GROUP (29) - HYDROSTATIC DRIVE

Схема запчастей Case IH SPX3200B - (085) - HYDROSTATIC PUMP GROUP (29) - HYDROSTATIC DRIVE
21
19
19
3
8
13
14
18
20
2
17
9
20
1
11
21
14
8
23
6
13
12
8
8
22
24
21
15
18
13
4
10
16
5
16
FIT
1:1
100%

Артикул

Название

Примечание

Количество

1

BN302574

ELBOW

16MOR - 16MB X 90

2шт.

1a

167268

O-RING,0.116" Thk x 1.171" ID, -916, Cl 6, 90 Duro

1-5/16", ORB

1шт.

O-ring boss end

1шт.

1b

238-6021

O-RING,15/16 X 1 - 1/16, Cl 6

1шт.

Face seal end

1шт.

2

BN302576

ELBOW

20MOR - 16MB X 90

1шт.

3

NSS

NOT SOLD SEPARAT

MANIFOLD, loadshare

1шт.

See Fig. 103

1шт.

4

BN314821

HYDROSTATIC PUMP,25.4 CC

Tandem, 1.55/1.05

1шт.

5

NSS

NOT SOLD SEPARAT

PUMP, tandem, series 90 75

1шт.

See Fig. 106

1шт.

6

BN444008

FITTING

Adapter - 37° Flare 10 - 08

1шт.

8

BN52315

KIT

1" Split Flange Code 62

4шт.

BN52317

O-RING

For 52315 (FK-16H)

1шт.

§ indicates service parts for above ref. number

1шт.

9

BN55123

HYDRAULIC HOSE,25.4mm ID x 1238.25mm L

1" x 48.75, 5000 PSI

1шт.

10

BN55124

HYDRAULIC HOSE,1.00" ID x 14.25"

1" x 14.25, 5000 PSI

1шт.

11

BN55125

HYDRAULIC HOSE,1.00" ID x 22.00"

1" x 22, 5000 PSI

1шт.

12

BN55126

HYDRAULIC HOSE,25.4mm ID x 1435.1mm L

1" x 56.50, 5000 PSI

1шт.

13

BN57223

FITTING

STR 1-5/16 12 O-Ring x 1-7/16 12 Male Flat Face

8шт.

14

BN21531

NUT,7/16"-20, 37 Degree

2шт.

15

BN21866

TEE,9/16"-18 O-Ring x 7/16:-20, 37 Degree

1шт.

16

BN22160

ELBOW

90° 9/16-18 O-Ring X 7/16-20 JIC

2шт.

17

BN51589

FITTING

STR.-9/16-18 O-Ring x 7/16-20 JIC

1шт.

18

BN53950

SENSOR

Pressure, N.O.200 PSI

2шт.

19

BN53961

ADAPTER

Int. Pipe-37 Flare

2шт.

20

BN302659

FITTING

20MOR-16MB

2шт.

21

BN444001

FITTING

ADPT., 37 flare, 12-12

3шт.

22

BN311407

HOSE

20 x 64

1шт.

23

BN60440

ADAPTER

O-RING, str.

1шт.

24

201-318

ELBOW,45 Degree, 1 7/16"-12 x 1 5/16"-12. Adj, ORFS

2шт.

Выбрано товаров: 31