Запчасти Case IH SPX3200B (078) - HOSE PIVOT MOUNT ASSEMBLY, LF, RR (35) - HYDRAULIC SYSTEMS

Схема запчастей Case IH SPX3200B - (078) - HOSE PIVOT MOUNT ASSEMBLY, LF, RR (35) - HYDRAULIC SYSTEMS
3
4
5
6
7
2
1
FIT
1:1
100%

Артикул

Название

Примечание

Количество

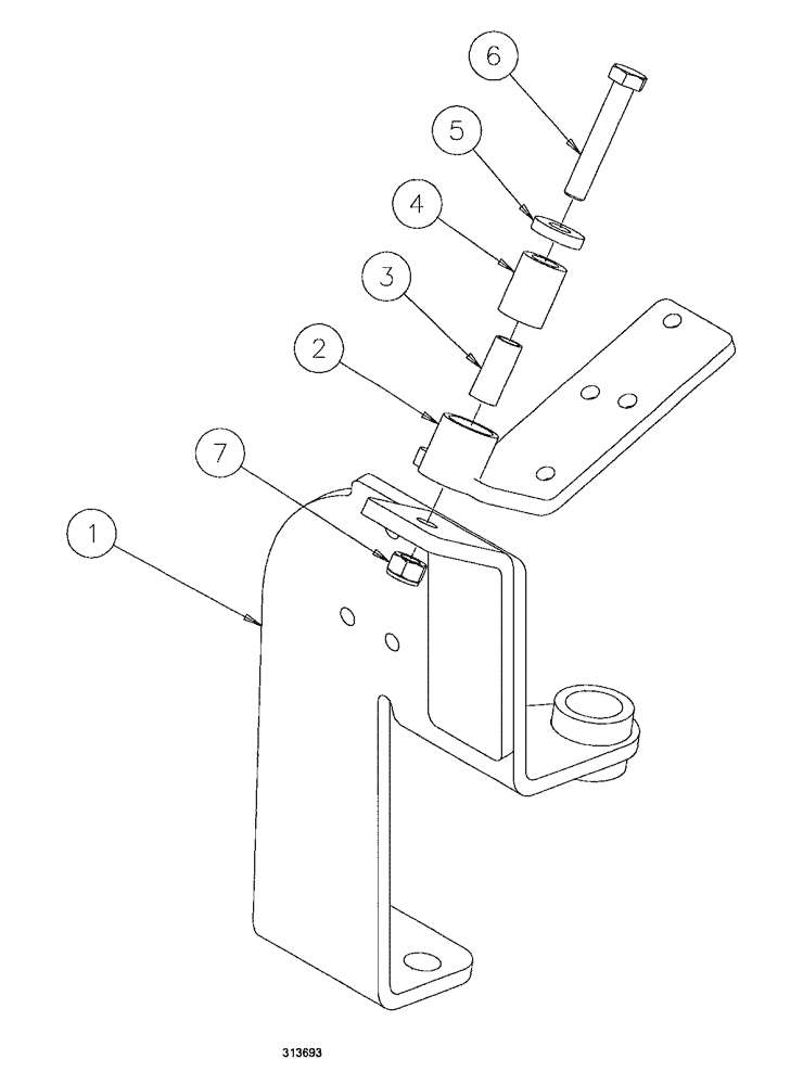
1

BN313661

MOUNTING PARTS

pivot, LH

1шт.

2

BN313649

MOUNTING PARTS

hose, LH

1шт.

~

BN313611

MOUNTING PARTS

hose, RH

1шт.

~ Indicates same general part but opposite side

1шт.

3

BN313619

BUSHING,12.7mm ID x 16mm OD x 38.1mm L

tube

1шт.

4

BN313618

BUSHING,16.15mm ID x 26.42mm OD x 35.05mm L

UHMW

1шт.

5

BN313639

WASHER

M12, 30 mm od

1шт.

6

412085

BOLT,Hex, M12 x 1.75 x 80mm, Cl 10.9

1шт.

7

100038

NUT,M12 x 1.75, Cl 8

1шт.

Выбрано товаров: 0