Запчасти Case IH SPX3200B (090) - STEEL LINES GROUP (35) - HYDRAULIC SYSTEMS

Схема запчастей Case IH SPX3200B - (090) - STEEL LINES GROUP (35) - HYDRAULIC SYSTEMS
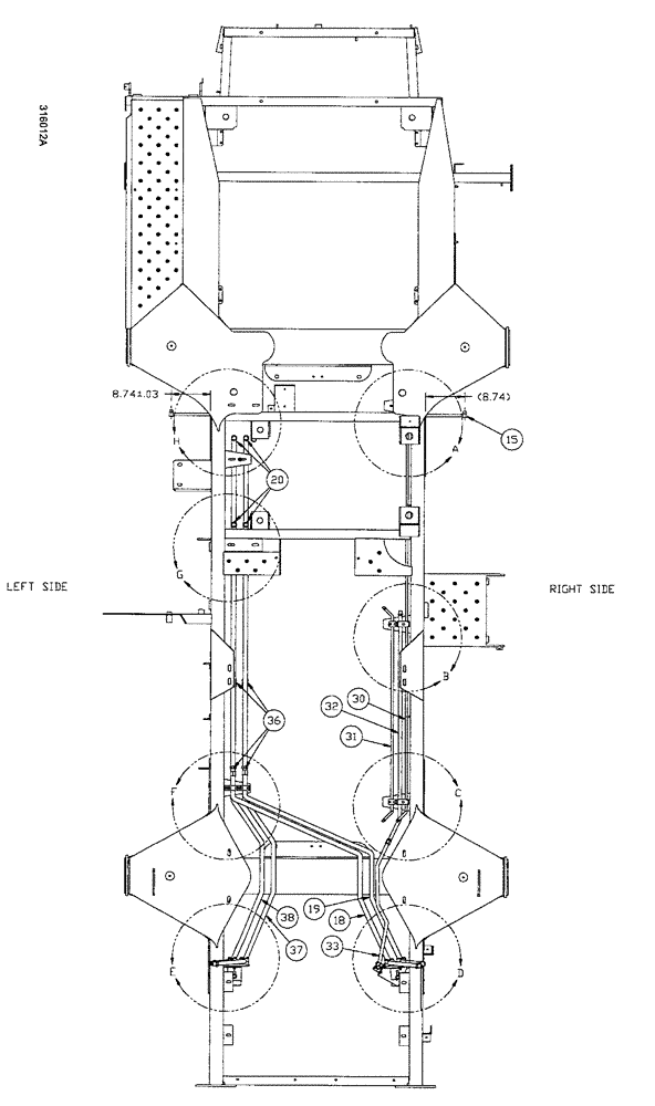
38
33
31
20
18
37
30
32
36
15
19
FIT
1:1
100%

Артикул

Название

Примечание

Количество

1

BN1470403C

FLANGE NUT

5/16-18, FLN, G8

2шт.

2

BN29769

BRACKET

Mount, 7GA HRS 3 x 7.25

1шт.

3

BN29770

MOUNTING PARTS

7 ga HRS 3.75 x 7.5

1шт.

4

BN29771

MOUNTING PARTS

7 ga HRS 3 x 10.25

1шт.

5

BN29782

CLAMP

Single (3/4" Tube)

1шт.

6

BN29783

CLAMP

Single, 1/2" Tube

5шт.

7

BN29784

COVER

Plate, Single, 3/4" Tube

1шт.

8

BN29785

PLATE

Cover, Single, 1/2" Tube

5шт.

9

BN300175

WASHER

3/8", G8

4шт.

10

BN300378

NUT

3/8 - 16, FLN, G5

2шт.

11

86632587

WASHER,0.28" ID x 0.62" OD x 0.07" Thk

13шт.

12

86637953

WASHER,0.34" ID x 0.69" OD x 0.09" Thk

2шт.

13

BN307080

CLAMP

pair -1" tube

14шт.

14

BN307081

PLATE

top, clamp -1" tube

14шт.

15

BN312887

TUBE

HYD., front, steer

1шт.

16

BN313247

RAIL

C, std duty

7шт.

17

BN313262

NUT

c-rail (1/4" -20)

28шт.

18

BN316490

HOSE ASSY.

tube, steel hyd., LH

1шт.

19

BN316491

TUBE

tube, steel hyd., RH

1шт.

20

BN315019

TUBE ASSY.

hydraulic, steel

4шт.

Continued on Figure 092

1шт.

Выбрано товаров: 21