Запчасти Case IH SPX3200B (048) - SOLENOID MOUNT ASSEMBLY (55) - ELECTRICAL SYSTEMS

Схема запчастей Case IH SPX3200B - (048) - SOLENOID MOUNT ASSEMBLY (55) - ELECTRICAL SYSTEMS
7
4
2
6
5
9
3
1
FIT
1:1
100%

Артикул

Название

Примечание

Количество

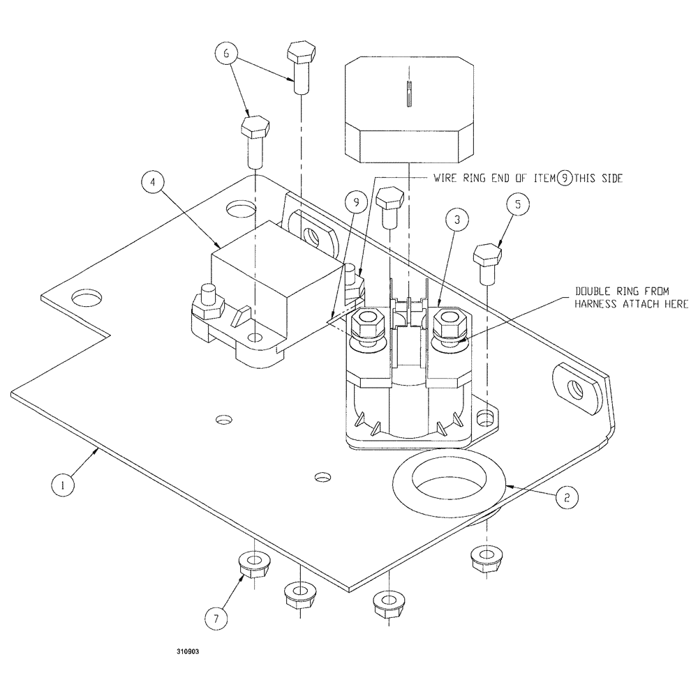
1

BN310891

MOUNTING PARTS

solenoid

1шт.

2

BN69488

GROMMET

1-7/8" OD

1шт.

3

178149A1

SOLENOID SWITCH

Starter Relay

2шт.

4

BN69860

CIRCUIT BREAKER

150A

1шт.

5

BN50209

BOLT

1/4"-20 x .5, HH, 5, PL

2шт.

6

BN50211

BOLT

1/4"-20 x .75, HH, G5

2шт.

7

BN50051

NUT,1/4"-20, USR

4шт.

9

BN318643

RING

assembly, wire, 10 red 8"

1шт.

ns

BN313034

PROTECTIVE COVER

shield, solenoid and relay

1шт.

+

BN50146

WASHER,3/8", Stainless

2шт.

+ Indicates associated part

1шт.

+

BN50250

BOLT,3/8"-16 x 3/4", Stainless Steel

2шт.

+ Indicates associated part

1шт.

Выбрано товаров: 0