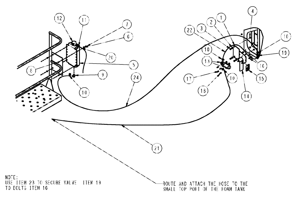
Запчасти Case IH SPX3310 (09-050) - FOAMER TRANSFER PUMP GROUP - SERIAL #20002 AND LATER Liquid Plumbing

Схема запчастей Case IH SPX3310 - (09-050) - FOAMER TRANSFER PUMP GROUP - SERIAL #20002 AND LATER Liquid Plumbing
22
21
10
1
20
9
18
10
2
13
14
7
12
4
24
5
3
11
8
17
15
19
10
6
10
16
FIT
1:1
100%

Артикул

Название

Примечание

Количество

1

87271982

BRACKET, SUPPORTING

TRANSFER, SHORT

1шт.

2

BN50146

WASHER,3/8", Stainless

3шт.

3

BN50250

BOLT,3/8"-16 x 3/4", Stainless Steel

3шт.

4

BN50759

LOCK NUT,3/8"-16, Nylon, Stainless

3шт.

5

BN322944

TANK

6 QT, POLY, NATURAL

1шт.

6

BN50142

WASHER,5/16", Stainless Steel

4шт.

7

BN50476

BOLT,5/16"-18 x 0.75", Stainless

4шт.

8

BN55361

NUT,5/16"-18, Nylon, Stainless

4шт.

9

BN325981

ELBOW

1/2" MPT x 3/8" Hose Barb, Poly

1шт.

10

BN324022

HOSE CLAMP

#8, Stainless Steel

6шт.

11

BN310450

HOSE CLAMP

#3, Stainless Steel

1шт.

12

86507190

CAP

Coolant Recovery Bottle

1шт.

13

87727677

PUMP,12V

Diaphragm, 1 GPM, 12V, Foam Transfer

1шт.

14

87271978

PANEL

Switch, Transfer Pump

1шт.

15

87271976

DECAL

Transfer Pump

1шт.

16

BN311631

BOLT,#10 - 24 x 3/4", SST

10-24 x .75, BSH, Stainless Steel

6шт.

17

BN310265

WASHER

10, Stainless Steel

6шт.

18

BN310266

BHD LOCK NUT,#10-24, Nylon, Stainless Steel

6шт.

19

87553370

HYDRAULIC VALVE

3/8 POLY

1шт.

20

BN324759

HOSE,0.25" ID x 17.00"

EPDM

1шт.

21

86986177

HOSE,0.38" ID x 100.00"

Clear

1шт.

22

87265769

HOSE

3/8 x 24' Clear

1шт.

24

343057A1

HOSE

3/8 X 40, CLEAR

1шт.

Выбрано товаров: 23