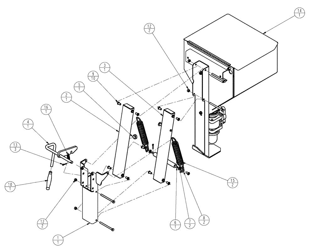
Запчасти Case IH SPX3310 (11-014) - TANK GROUP W/LINKAGE Options

Схема запчастей Case IH SPX3310 - (11-014) - TANK GROUP W/LINKAGE Options
15
5
1
10
7
3
14
13
12
8
6
2
16
9
4
12
FIT
1:1
100%

Артикул

Название

Примечание

Количество

1

BN324764

MOUNT

MOUNT, LINKAGE ARM

1шт.

2

BN318197

ARM

LINKAGE (UPR)

1шт.

3

BN318198

ARM

LINKAGE (LWR)

1шт.

4

BN318200

LATCH

LINKAGE ARM

1шт.

5

BN319152

RUBBER BUMPER

1" OD

1шт.

6

BN319247

PIN,7.94mm OD x 210mm L

SPRING RETENSION

1шт.

7

BN319150

WASHER

3/8, FW, NYLON

2шт.

8

BN319106

ADJUSTING PLATE

ADJUSTMENT

2шт.

9

BN319151

BUSHING

5/16, SHLDER, NYLN

10шт.

10

BN29274

GRIP

Black-Vinyl, .5 id x 4" Long

1шт.

11

87342752

BOLT

Hex, 5/16-18 X 4, G5

4шт.

12

87343959

NUT,5/16" - 18, GR B, DOR

4шт.

13

BN1630425

PIN, SPLIT (COTTER)

PIN, COTTER 1/8 X 1

3шт.

14

BN320818

TANK

W/LIQ PLUMB

1шт.

See Fig. 11-038

1шт.

15

BN71050

TENSION SPRING

1-3/4" OD x 8-3/16" Long

2шт.

16

BN311889

SPRING

.50 X 2.00 X .067, SS

1шт.

Выбрано товаров: 17