Качественные детали и логистика
Оригинальные и аналоговые запчасти с доставкой по России, Казахстану и Беларуси
©2022 PartSell ООО "Система" ИНН 2463123282 ОГРН 1212400004838
Центральный офис: г. Красноярск, Академика Киренского, д.87, пом.4
Телефон: 8 (800) 777-65-74 Email: zakaz@partsell.ru
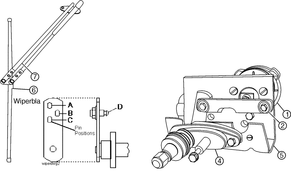
(02-010) - WINDSHIELD WIPER
№
Артикул
Название
Примечание
Количество
1
BN29267
WIPER MOTOR
MOTOR, WIPER 2 Speed, 12V
1шт.
2
BN29268
DRIVE
Arm-wiper
3
137961A1
SHAFT
And Pivot Assembly
4
133935A1
PACKAGE
pantograph
6
353273A1
BLADE,558.8mm L
Front Wiper, 22"
BN50671
BOLT,1/4"-20 x 1.00", Stainless Steel
Associated Part of Blade, Front Wiper, 22 in, P/N 353273A1
7
87557932
WIPER ARM
20"
280129
NUT,1/4"-20
BN50939
BOLT
1/4"-28 x .5, SS, HH
2шт.
Выбрано товаров: 0