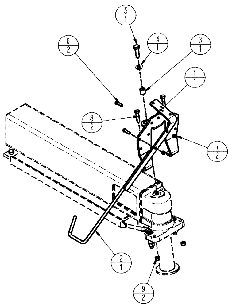
Запчасти Case IH SPX3310 (04-020) - NON PIVOT HOSE MOUNT GROUP, LR Suspension & Frame

Схема запчастей Case IH SPX3310 - (04-020) - NON PIVOT HOSE MOUNT GROUP, LR Suspension & Frame
4
7
9
1
2
8
3
5
6
FIT
1:1
100%

Артикул

Название

Примечание

Количество

1

87266807

MOUNTING PLATE

Hose Pivot

1шт.

2

87615322

STOP DEVICE

Hose Mount, LH

1шт.

3

87390349

BUSHING

bushing, hose

1шт.

4

87310608

WASHER,22mm ID x 44mm OD x 5mm Thk

22 x 44 x 5 mm, HDN, DOR

1шт.

5

86980460

BOLT,Hex, M20 x 60mm, Cl 8.8

M20-2.5 X 60, HH, 8.8 DOR

1шт.

6

86980423

BOLT,Hex, M12 x 1.75 x 40mm, Cl 8.8, Full Thd

2шт.

7

100038

NUT,M12 x 1.75, Cl 8

2шт.

8

87341829

BOLT,Hex, M16 x 65mm, Cl 8.8

M16 x 65 8.8 DOR

2шт.

9

86980517

NUT,Hex, M16 - 2, Cl 8.8, DOR

2шт.

Выбрано товаров: 0