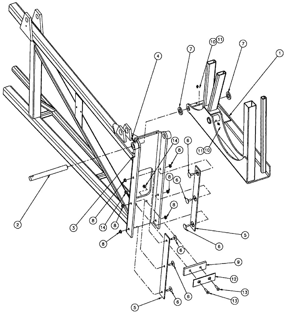
Запчасти Case IH SPX3310 (08-024) - OUTER BOOM ASSEMBLY, R.H. - 90, ENDING 11/2008 (09) - BOOMS

Схема запчастей Case IH SPX3310 - (08-024) - OUTER BOOM ASSEMBLY, R.H. - 90, ENDING 11/2008 (09) - BOOMS
3
10
14
11
13
13
11
2
5
9
8
6
1
8
8
10
6
6
8
12
8
8
7
4
14
5
8
7
6
6
FIT
1:1
100%

Артикул

Название

Примечание

Количество

1

BN320278

BOOM

Outer Section, 90', RH

1шт.

2

BN307893

PIN,25.4mm OD x 236.47mm L

V-FOLD

1шт.

3

86624080

HEADED PIN,9.53mm OD x 50.8mm L

1шт.

4

80755

COTTER PIN,1/8" OD x 1" L

1шт.

5

BN69856

PLATE

LINER-PLSTIC

2шт.

6

BN50014

BOLT

5/16"-18 x .75, EH

6шт.

7

87016608

WASHER,25.8mm ID x 44.5mm OD x 5mm Thk

2шт.

8

BN50057

LOCK NUT,Lock, 5/16"-18, Stainless Steel

6шт.

9

BN305437

BUMPER

1шт.

10

BN302051

NIPPLE, LUBE,M8 x 1, Straight

NIPPLE 8 mm x 1 Straight

2шт.

11

331-37

SPARE PART

FLUID, 1 lb. Lithium #2 grease

1шт.

12

87266608

STEEL PLATE

FOLD BUMPER

1шт.

13

280591

HEX SOC SCREW,Flat Hd, 5/16" - 18 x 1 1/4"

2шт.

14

BN55361

NUT,5/16"-18, Nylon, Stainless

2шт.

Выбрано товаров: 14