Качественные детали и логистика
Оригинальные и аналоговые запчасти с доставкой по России, Казахстану и Беларуси
©2022 PartSell ООО "Система" ИНН 2463123282 ОГРН 1212400004838
Центральный офис: г. Красноярск, Академика Киренского, д.87, пом.4
Телефон: 8 (800) 777-65-74 Email: zakaz@partsell.ru
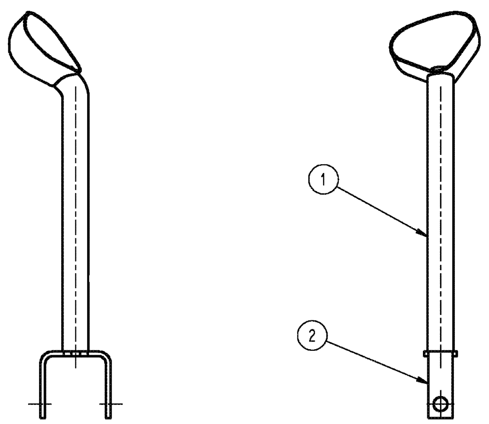
(01-011) - LEVER SUB ASSEMBLY PROPEL CONTROL
№
Артикул
Название
Примечание
Количество
1
87267517
HANDLE
Cup Control Assembly
1шт.
2
113316A1
CHANNEL
propulsion control lever
Выбрано товаров: 0