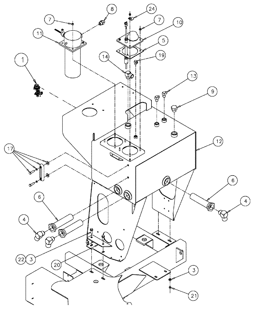
Запчасти Case IH SPX3310 (06-012) - OIL TANK GROUP - BEFORE SERIAL #20056 Hydraulic Plumbing

Схема запчастей Case IH SPX3310 - (06-012) - OIL TANK GROUP - BEFORE SERIAL #20056 Hydraulic Plumbing
5
17
11
13
4
7
10
6
12
14
1
7
24
4
22
9
3
20
3
19
21
8
6
FIT
1:1
100%

Артикул

Название

Примечание

Количество

1

87105048

DRAINCOCK/TAP SUPPLY

Valve, Hydraulic

1шт.

3

86625255

WASHER,13.3mm ID x 24.5mm OD x 3mm Thk

8шт.

4

BN302577

ELBOW

20 MOR-20 MB X 90

3шт.

570186

O-RING,0.118" Thk x 1.475" ID, -920, Cl 6, 90 Duro

Located Between Ref.4 and Ref.6, Not Shown

1шт.

5

BN302982

GASKET,3.17mm Thk

COVER PLATE

1шт.

6

BN303528

STRAINER ASSY.

32 MB X -20 FB, 100

3шт.

7

86505868

SERRATED NUT,Hex, M8 x 1.25, Cl 8

8шт.

8

BN53927

ADAPTER

90º 16 O-Ring-12 JIC

1шт.

9

BN60479

PLUG

1-5/16-12 O-RING HEX

1шт.

10

BN322802

SWITCH

Level Temp Grp

1шт.

11

87270935

FILTER

Intank, SAE 24, 6ABS

1шт.

12

87270328

TANK

oil

1шт.

13

BN445001

FITTING

12 MJ-12 MB X 90

2шт.

14

BN302574

ELBOW

16 MOR-16 MB X 90

1шт.

14a

167268

O-RING,0.116" Thk x 1.171" ID, -916, Cl 6, 90 Duro

1шт.

O-ring boss end

1шт.

14b

238-6021

O-RING,15/16 X 1 - 1/16, Cl 6

1шт.

Face seal end

1шт.

17

BN322594

GAUGE

sight with temperature

1шт.

19

BN445003

FITTING

6 MB-6 MJ X 90

1шт.

20

BN300172

PLATE

2шт.

21

100038

NUT,M12 x 1.75, Cl 8

4шт.

22

86629541

BOLT,Hex, M12 x 1.75 x 40mm, Cl 8.8

4шт.

24

86594406

CLAMP,15.9mm, Coat, 10.3mm Bolt Hole, P Type

3шт.

Выбрано товаров: 24