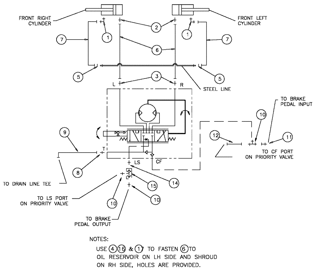
Запчасти Case IH SPX3310 (06-017) - HYDRAULIC GROUP, 2 WHEEL STEER Hydraulic Plumbing

Схема запчастей Case IH SPX3310 - (06-017) - HYDRAULIC GROUP, 2 WHEEL STEER Hydraulic Plumbing
10
7
15
14
9
12
8
1
11
10
6
7
1
3
2
10
5
5
FIT
1:1
100%

Артикул

Название

Примечание

Количество

1

BN302553

ELBOW

11/16-16 ORFS x 9/16-18 ORB

2шт.

1a

237-6006

O-RING,0.078" Thk x 0.468" ID, -906, Cl 6, 90 Duro

2шт.

1b

9993141

O-RING,0.07" Thk x 0.364" ID, -12, Cl 6, 90 Duro

2шт.

2

BN302646

FITTING

11/16-16 ORFS x 9/16-18 ORB

2шт.

3

BN303940

FITTING

6MOR-8MB45

2шт.

4

86594406

CLAMP,15.9mm, Coat, 10.3mm Bolt Hole, P Type

3шт.

5

BN305412

O-RING

FOR -6 FFOR

2шт.

6

BN316687

HOSE

6 X 103"

2шт.

7

BN307821

HOSE ASSY.

2шт.

8

BN302647

FITTING

6MOR-8MB

1шт.

9

87269785

HOSE ASSY.

6 x 82"

1шт.

10

BN444005

FITTING

37 FLARE, 04-04

2шт.

11

BN53714

FITTING

RDC, 3/4-16 X 7/16-20 JIC

1шт.

12

86986320

HOSE

8 x 80"

1шт.

13

BN51586

TEE

3/4-16 "O" RING TO JIC

1шт.

14

BN310595

FITTING

4MB-4MB

1шт.

15

343925A1

HYDRAULIC VALVE

SHUTTLE, 5000 PSI

1шт.

16

100037

LOCK NUT,M10 x 1.5, Cl 8

2шт.

17

11106231

BOLT,Hex, M10 x 1.5 x 25mm, Cl 10.9

2шт.

Выбрано товаров: 19