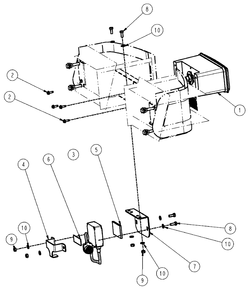
Запчасти Case IH SPX3320 (11-051) - LIGHT GROUP HID Options

Схема запчастей Case IH SPX3320 - (11-051) - LIGHT GROUP HID Options
2
5
1
7
2
3
4
10
10
8
10
10
9
8
9
6
FIT
1:1
100%

Артикул

Название

Примечание

Количество

1

232455A2

WORK LAMP,HID, 12V, 35W, Clear

center, HID - Includes Bulb (NSS due to cost)

1шт.

2

87343659

SELF-TAP SCREW,Hex Wshr, 1/4" - 20 x 3/4"

Tapping, 1/4"-20 x 3/4"

4шт.

3

322332A1

BALLAST

light, center HID

1шт.

4

333645A1

CLAMP

HID ballast hold down

1шт.

5

333643A1

GASKET

foam HID ballast

1шт.

6

333644A1

GASKET

foam HID ballast hold down

1шт.

7

87272407

MOUNTING PLATE

HID Ballast

1шт.

8

86980379

BOLT,Hex, M8 x 1.25 x 20mm, Cl 8.8

4шт.

9

9991588

NUT,M8 x 1.25, Cl 8

4шт.

10

87529315

WASHER,9mm ID x 17mm OD x 2mm Thk

9 x 17 x 2 mm, HDN, DOR

8шт.

Выбрано товаров: 10