Запчасти Case IH SPX3320 (04-036) - BATTERY BOX GROUP Suspension & Frame

Схема запчастей Case IH SPX3320 - (04-036) - BATTERY BOX GROUP Suspension & Frame
4
15
10
8
6
11
7
14
5
3
9
16
2
1
13
12
FIT
1:1
100%

Артикул

Название

Примечание

Количество

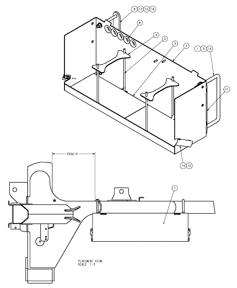
1

87271466

BOX

Battery

1шт.

2

87271469

COVER

BATTERY BOX

1шт.

3

87691876

ROD

Battery Hold Down

4шт.

4

BN320331

BRACKET

Mount, Battery

2шт.

5

BN50057

LOCK NUT,Lock, 5/16"-18, Stainless Steel

4шт.

6

BN2290753

GROMMET

2870 (7/8" Hole)

7шт.

7

343924A1

U-BOLT

U, M16-2, 150 x 256

1шт.

8

87529306

WASHER,17.5mm ID x 30mm OD x 4mm Thk

17.5 x 30 x 4 mm, HDN, DOR

2шт.

9

86980517

NUT,Hex, M16 - 2, Cl 8.8, DOR

2шт.

10

86986975

SPACER

10" U-Bolt

1шт.

11

BN307683

LATCH

SOFT W/CONCEAL KEEP

2шт.

12

87017053

RIVET,Pop, .146" x .425"

8шт.

13

87271465

MOUNTING PLATE

BATTERY BOX

1шт.

14

86980434

BOLT,Hex, M12 x 140mm, Cl 8.8

M12 1.75 X 140, HH, 8.8, DOR

2шт.

15

87529310

WASHER,13.5mm ID x 28mm OD x 4mm Thk

13.5 x 28 x 4 mm, HDN, DOR

2шт.

16

100038

NUT,M12 x 1.75, Cl 8

2шт.

Выбрано товаров: 16