Запчасти Case IH SPX3320 (08-014) - 60-90’ OUTER BOOM ASSEMBLY, LH, ENDING 11/2008 (09) - BOOMS

Схема запчастей Case IH SPX3320 - (08-014) - 60-90’ OUTER BOOM ASSEMBLY, LH, ENDING 11/2008 (09) - BOOMS
4
14
6
14
8
10
8
3
9
1
8
5
7
2
8
5
6
8
6
6
8
13
12
10
6
11
6
7
11
13
FIT
1:1
100%

Артикул

Название

Примечание

Количество

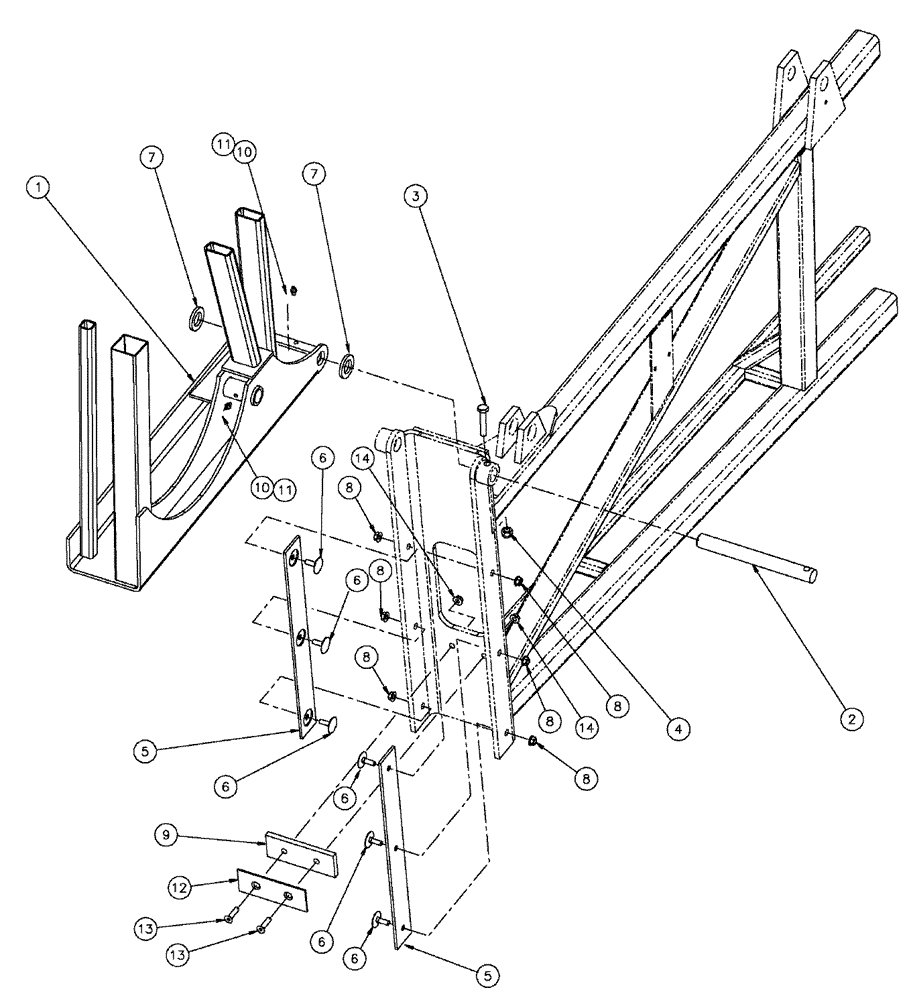
1

BN320279

BOOM

LH Outer-90'

1шт.

2

BN307893

PIN,25.4mm OD x 236.47mm L

V-FOLD

1шт.

3

86624080

HEADED PIN,9.53mm OD x 50.8mm L

1шт.

4

80755

COTTER PIN,1/8" OD x 1" L

1шт.

5

BN69856

PLATE

LINER, PLSTIC 3/16 X 2 X 17.50

2шт.

6

BN50014

BOLT

5/16"-18 x .75, EH

6шт.

7

87016608

WASHER,25.8mm ID x 44.5mm OD x 5mm Thk

2шт.

8

BN50057

LOCK NUT,Lock, 5/16"-18, Stainless Steel

6шт.

9

BN305437

BUMPER

RUBBER, 2 X 5.5 X .38

1шт.

10

BN302051

NIPPLE, LUBE,M8 x 1, Straight

NIPPLE 8 mm x 1 Straight

2шт.

12

87266608

STEEL PLATE

FOLD BUMPER

1шт.

13

280591

HEX SOC SCREW,Flat Hd, 5/16" - 18 x 1 1/4"

2шт.

14

BN55361

NUT,5/16"-18, Nylon, Stainless

2шт.

Выбрано товаров: 13