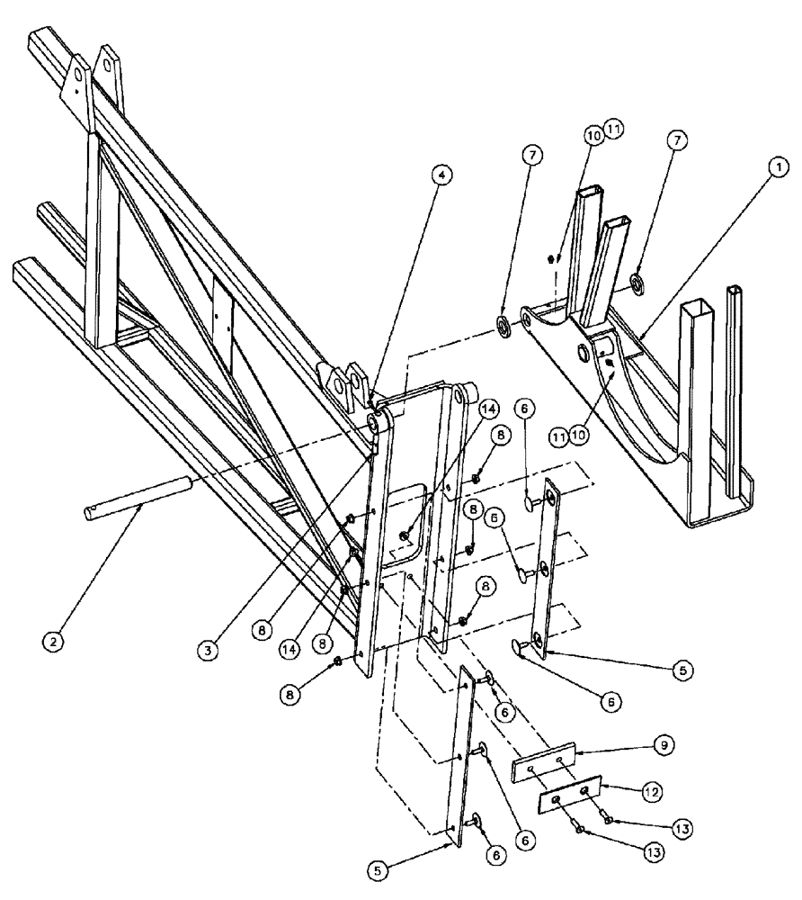
Запчасти Case IH SPX3320 (08-017) - 100’ OUTER BOOM ASSEMBLY, RH (09) - BOOMS

Схема запчастей Case IH SPX3320 - (08-017) - 100’ OUTER BOOM ASSEMBLY, RH (09) - BOOMS
6
12
6
6
11
11
7
3
6
10
13
1
4
6
8
5
7
5
6
8
9
8
13
14
8
10
14
2
8
8
FIT
1:1
100%

Артикул

Название

Примечание

Количество

1

87683498

BOOM

Outer, RH, 90'/100'

1шт.

2

BN307893

PIN,25.4mm OD x 236.47mm L

V-FOLD

1шт.

3

87344036

PIN,9.53mm OD x 54.36mm L

Headed, 3/8 x 1 55/64", G5

1шт.

4

80755

COTTER PIN,1/8" OD x 1" L

1шт.

5

BN69856

PLATE

LINER, PLSTIC 3/16 X 2 X 17.50

2шт.

6

BN50014

BOLT

5/16"-18 x .75, EH

6шт.

7

87529311

WASHER,26mm ID x 44mm OD x 5mm Thk

26 x 44 x 5 mm, HDN, DOR

2шт.

8

BN50057

LOCK NUT,Lock, 5/16"-18, Stainless Steel

6шт.

9

BN305437

BUMPER

RUBBER, 2 X 5.5 X .38

1шт.

10

BN302051

NIPPLE, LUBE,M8 x 1, Straight

NIPPLE 8 mm x 1 Straight

2шт.

11

331-37

SPARE PART

FLUID, 1 lb. Lithium #2 grease

1шт.

12

87266608

STEEL PLATE

FOLD BUMPER

1шт.

13

280591

HEX SOC SCREW,Flat Hd, 5/16" - 18 x 1 1/4"

2шт.

14

BN55361

NUT,5/16"-18, Nylon, Stainless

2шт.

Выбрано товаров: 14