Запчасти Case IH SPX3320 (01-020[01]) - STEERING, CONTROL Cab Interior

Схема запчастей Case IH SPX3320 - (01-020[01]) - STEERING, CONTROL Cab Interior
4
22
3
2
16
13
10
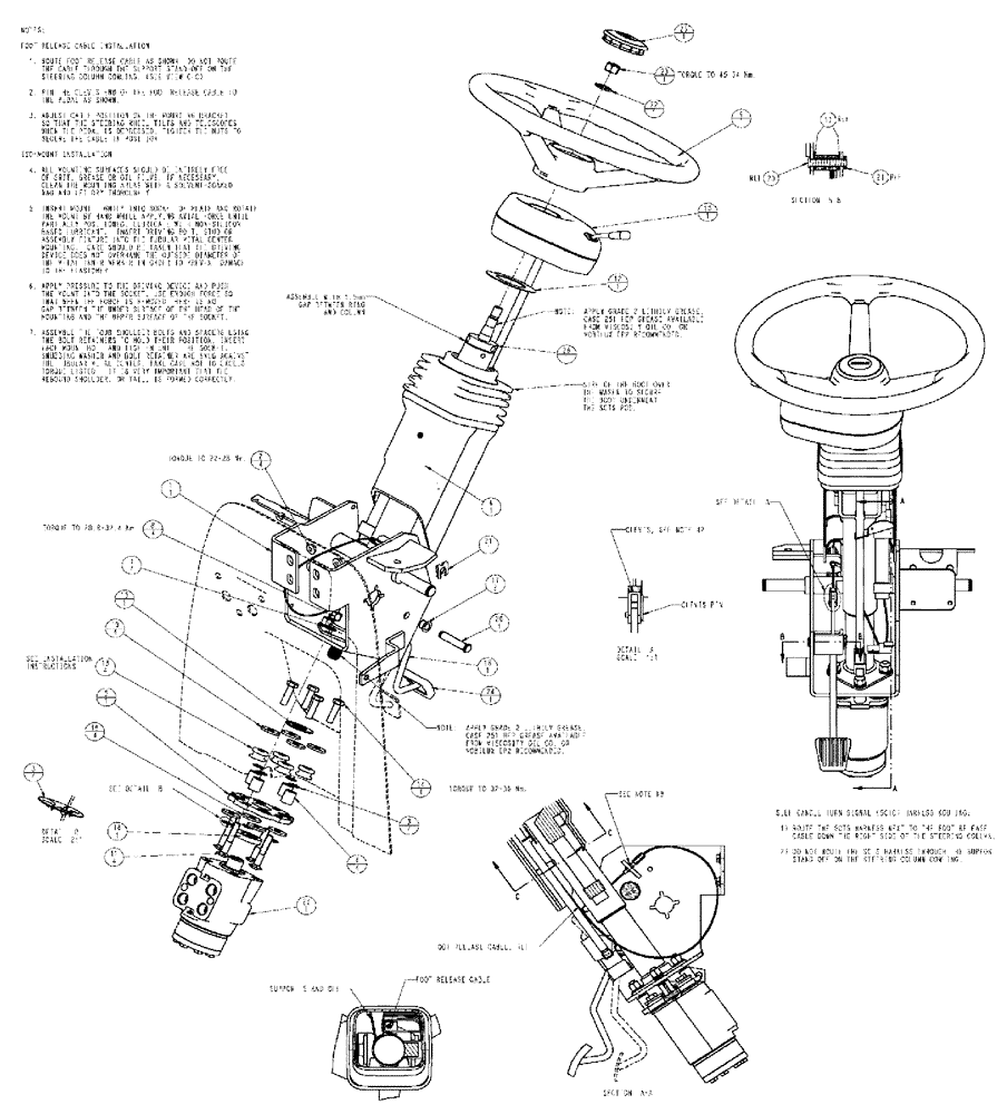
1
20
11
15
20
9
6
17
3
21
23
19
19
12
27
12
26
8
24
1
25
5
21
18
17
FIT
1:1
100%

Артикул

Название

Примечание

Количество

1

84169079

BRACKET

front console

1шт.

2

9804277

FLANGE NUT,Hex, M8 x 1.25, Cl 8

4шт.

3

329677A1

RETAINER,9.09mm ID x 19.87mm OD x 0.38mm Thk

BOLT

8шт.

4

295478A1

SPACER

STEERING HAND PUMP

4шт.

5

366073A1

PLATE

STEERING HAND PUMP

1шт.

6

406697A2

STEERING COLUMN

1шт.

7

140017

WASHER,M10 x 20mm OD x 2mm Thk

4шт.

8

100037

LOCK NUT,M10 x 1.5, Cl 8

4шт.

9

301200A1

STEERING WHEEL

deluxe

1шт.

10

412350A1

ASSEMBLY

Pod Self Cancel Turn

1шт.

See Fig. 01-022

1шт.

11

370105A2

BOLT

LOW PROFILE RD HD S

4шт.

12

1977448C2

WASHER

Support, Boot

1шт.

13

434177A1

ISOLATOR

CAC, center bended

4шт.

14

9706704

BOLT,Hex, M10 x 1.5 x 41.58mm, Cl 8.8

4шт.

15

307559A1

SEAL,25mm ID x 48mm OD x 2mm Thk

STEERING SHAFT, NOIS

1шт.

16

296775A2

SEAL

STEERING SHAFT, NOIS

1шт.

17

1533540C1

BUSHING,12mm ID x 14mm OD x 12mm L

Plastic

2шт.

18

295191A3

PEDAL

FOOT RELEASE

1шт.

19

496-81028

WASHER,10.31mm ID x 31.75mm OD x 4.06mm Thk

8шт.

20

295192A1

PIN,12mm OD x 62.5mm L

FOOT RELEASE PEDAL

1шт.

21

277059A1

CLIP

12MM

1шт.

22

87016605

WASHER,15.5mm ID x 28mm OD x 2.5mm Thk

1шт.

23

86639148

NUT,M14 x 1.5, Cl 8

1шт.

24

323657A1

PAD

FOOT RELEASE PEDAL

1шт.

25

361024A3

CAP

steering wheel, deluxe

1шт.

25a

87613502

INSERT

CASE IH

1шт.

Associated Part of Autoboom, Dual Sensor, Kit, P/N 87668162

1шт.

26

253679A1

RING

MAGNET

1шт.

27

87269664

PUMP

STEERING, SERIES 10

1шт.

Выбрано товаров: 30