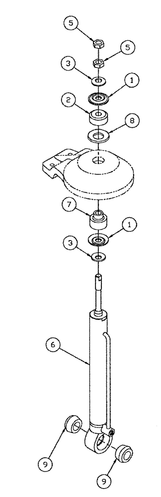
Запчасти Case IH SPX4260 (04-025) - SUSPENSION CYLINDER ASSEMBLY Suspension & Frame

Схема запчастей Case IH SPX4260 - (04-025) - SUSPENSION CYLINDER ASSEMBLY Suspension & Frame
6
9
9
3
1
8
2
7
3
1
5
5
FIT
1:1
100%

Артикул

Название

Примечание

Количество

1

BN313440

WASHER

Retainer

2шт.

2

BN313532

BUSHING,16.26mm ID x 49.4mm OD x 27.43mm L

Urethane (Red)

1шт.

3

BN313204

SPRING WASHER

Harden 5/8

2шт.

5

329-1510

JAM NUT,Jam, 5/8"-18, G8

2шт.

6

BN320608

HYDRAULIC CYLINDER,Double Acting, 22.23mm Rod, 263.65mm Stroke

1.38 x 10.38 x .88, See Fig 07-009 For Service Parts

1шт.

6

BN320608R

REMAN-HYD CYLINDER

SPX4260

1шт.

6

BN320608C

CORE-HYD CYLINDER

Return Number

1шт.

7

BN321661

BUSHING

Pilot Long Shock

1шт.

8

BN321990

WASHER

Spring Harden 1"

1шт.

9

87269274

BUSHING,25.4mm ID x 48.01mm OD x 25.15mm L

Bushing, Lower Shock

2шт.

10

BN55077

ANTISEIZE

0.05

1шт.

Выбрано товаров: 11