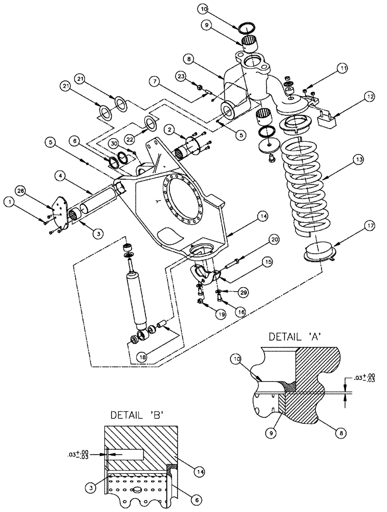
Запчасти Case IH SPX4260 (04-029) - STRUT ASSEMBLT, RIGHT Suspension & Frame

Схема запчастей Case IH SPX4260 - (04-029) - STRUT ASSEMBLT, RIGHT Suspension & Frame
6
10
1
17
8
11
29
6
10
5
22
4
5
9
3
12
18
26
15
16
9
6
10
19
7
17
11
8
3
5
16
29
9
14
3
14
2
18
14
21
23
20
2
30
13
8
13
3
21
15
10
8
23
20
19
9
14
12
FIT
1:1
100%

Артикул

Название

Примечание

Количество

1

120104

BOLT,Hex, M8 x 1.25 x 20mm, Cl 8.8

8шт.

2

BN302045

CAP

1шт.

3

87266251

BEARING LINER

Garlock

2шт.

4

BN302046

SHAFT

Lower, Strut

1шт.

5

BN302051

NIPPLE, LUBE,M8 x 1, Straight

NIPPLE 8 mm x 1 Straight

3шт.

6

BN302044

SEAL,63.5mm ID x 76.2mm OD x 6.35mm Thk

Lower

2шт.

7

BN321041

SET SCREW

M12 x 55, 1.75 Cup Point

1шт.

8

BN300990

ARM ASSY.

Suspepnsion Upper RH

1шт.

9

BN302041

SLEEVE

Bearing

2шт.

10

BN302040

SEAL

2шт.

11

BN305104

FLANGE NUT

3/8-16, FLN, G8

2шт.

12

BN306889

BUMPER

Jounce, 2.5 X 4.5 X 1.5

1шт.

13

BN316579

COIL SPRING

Suspension

1шт.

14

BN300992

HOUSING

Trailing Link, RH

1шт.

15

BN302031

MOUNTING PARTS

Shock, Lower

1шт.

16

86509867

BOLT,Hex Flg, M16 x 40mm

2шт.

17

BN316108

GUIDE

Adaptor, Spring

2шт.

18

87269215

SPACER

Shock, Suspension

1шт.

19

380424

NUT,M20 x 2.5, Cl 8

1шт.

20

412346

BOLT,Hex, M20 x 2.5 x 90mm, Cl 8.8

1шт.

21

BN302047

SHIM,64mm ID x 98.3mm OD x 1.44mm Thk

Machine Bushing, Wide, 2.5" id x 3.87" od x 18 ga

2шт.

22

BN302048

SHIM,64.01mm ID x 98.55mm OD x 2.55mm Thk

3.88" od x 2.52 id x 14 GA

1шт.

23

100038

NUT,M12 x 1.75, Cl 8

1шт.

24

BN55015

NIPPLE, LUBE

NIPPLE lithium, 12-grade Ref. #2

1шт.

25

BN55084

SEALANT

Caulk-11 Oz. White G-Flex, 0.1

1шт.

26

BN306819

CAP

Dust, Suspension

1шт.

27

BN307971

SEALANT

Thread, 0.02

1шт.

28

BN1243001

LOCTITE

243-31 Removable

1шт.

29

BN300501

WASHER

M16, FW, 10.9

2шт.

30

BN304600

NIPPLE, LUBE

NIPPLE M8 x 1 x 90

1шт.

Выбрано товаров: 30