Запчасти Case IH SPX4260 (03-015) - CYLINDER HEAD AND VALVE MECHANISM (01) - ENGINE

Схема запчастей Case IH SPX4260 - (03-015) - CYLINDER HEAD AND VALVE MECHANISM (01) - ENGINE
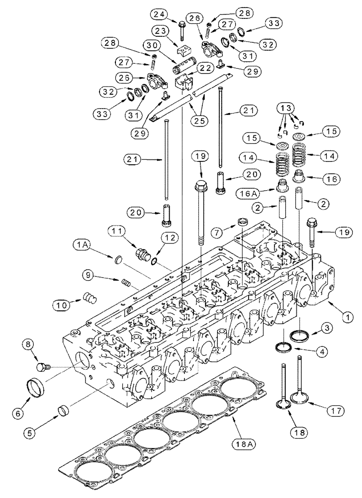
4
16a
1
20
18a
2
5
33
7
8
26
21
27
32
19
2
1a
9
15
28
31
20
26
32
18
24
16
17
27
21
28
10
14
13
31
22
11
30
19
29
6
12
3
15
29
25
23
14
33
FIT
1:1
100%

Артикул

Название

Примечание

Количество

0

JR936280

REMAN-CYLINDER HEAD

Head Assembly - Cylinder, With Valves, Remanufactured, North America Only, Component Parts Shown On This Page Do Not Apply To The Remanufactured Assembly

1шт.

0

JC936280

REMAN-CYLINDER HEAD

Return Number - Use This Part Number To Return Head, With Valves, For Credit When Using A Remanufactured Assembly

1шт.

0

J936280

HEAD

Cylinder, New, With Valves

1шт.

84262945R

REMAN-CYLINDER HEAD

SPX4260 (11/01-6/04), Reman For New P/N J936280

1шт.

84262945C

CORE-CYLINDER HEAD

Return Number

1шт.

1

J936180

HEAD ASSY.

Cylinder, New, Without Valves

1шт.

1a

J912900

PLUG

Expansion, 24 MM

1шт.

2

J923564

VALVE GUIDE

Stem

12шт.

3

J924582

INSERT

valve seat, intake

6шт.

3

J925468

SEAT, VALVE

Insert - Seat, Intake Valve, 0.254 MM Oversize, Service Repair Only

6шт.

3

J925470

SEAT, VALVE

Insert - Seat, Intake Valve, 0.508 MM Oversize, Service Repair Only

6шт.

4

J929005

INSERT

Exhaust Valve

6шт.

4

J929006

INSERT

Exhaust Valve, 0.254 MM Oversize, Service Repair Only

6шт.

4

J929007

INSERT

Seat, Exhaust Valve, 0.508 MM Oversize, Service Repair Only

6шт.

5

J920443

PLUG

Expansion, 30 mm od

1шт.

6

A77782

PLUG

Expansion, 58 mm od

2шт.

7

86625124

PLUG,Cup, 1", Stainless

5шт.

8

217-426

PLUG,Hex Soc, 1/16" - 27 NPTF

1шт.

9

217-432

PLUG,Hex Soc, 1/4" - 18 NPTF

1шт.

10

444704

PLUG,Hex Soc, 1/2"-14

1шт.

11

J924148

PLUG,M22 x 1.5

Hex Magnetic, Special, 22 MM - 1.5

2шт.

12

J902425

SEALING WASHER,22.2mm ID x 26.9mm OD x 1.75mm Thk

Sealing, Plug

2шт.

13

J901177

VALVE

Keeper - Valve

24шт.

14

J906412

VALVE SPRING

12шт.

15

J912976

RETAINER

Valve Spring

12шт.

16

J927642

SEAL

Intake And Exhaust Valve Stem And Guide

6шт.

16a

J927642

SEAL

Exhaust Valve Stem And Guide

6шт.

17

J924492

STD INLET VALVE

STD ENGINE INLET VALVE Intake

6шт.

18

J921444

STD EXHAUST VALVE

STD ENGINE EXHAUST VALVE Exhaust

6шт.

18a

NSS

NOT SOLD SEPARAT

Gasket - Cylinder Head, Standard

1шт.

See Fig. 03-013

1шт.

19

87344126

BOLT

M14 x 160

14шт.

19

J917729

BOLT,Flng, M14 x 80mm

Bolt - Cylinder Head, 80 MM Long

12шт.

20

J931623

TAPPET

Valve, Push ROD

12шт.

21

J905194

PUSH ROD

Rocker Arm

12шт.

22

J905870

SUPPORT

Shaft, Rocker Arm

6шт.

23

J901693

CLAMP

Retaining, Shaft

6шт.

24

868-10065

12 PT SCREW,M10 x 65mm, Cl 12.9

12шт.

25

J919677

TUBE

Oil, Rocker Arm

1шт.

26

J901717

ROCKER

Arm Assembly

12шт.

27

J934086

ADJUSTMENT SCREW,3/8" - 24 x 29.85mm

Slotted Set, Adjusting, Special

1шт.

28

A77902

NUT

Special, 3/8"-24, Heavy, Type 8

1шт.

29

NSS

NOT SOLD SEPARAT

Insert-Rocker

1шт.

30

J919435

SHAFT

Rocker

6шт.

31

J906100

SPRING CUP

Washer-Spring

12шт.

32

J907206

WASHER,22.5mm ID x 30mm OD x 1mm Thk

Flat, Special

12шт.

33

100-1187

SNAP RING,#87, Ext

12шт.

Выбрано товаров: 47