Запчасти Case IH SPX4260 (03-017) - CYLINDER BLOCK (01) - ENGINE

Схема запчастей Case IH SPX4260 - (03-017) - CYLINDER BLOCK (01) - ENGINE
26
4
8
19
2
12
14
5
14
22
18
13
29
27
7
21
11a
9
34
7
16
10
8
6
1
3
24
7
32
28
31
25
13
15
11
33
12
14
23
7
FIT
1:1
100%

Артикул

Название

Примечание

Количество

0

321944A4

ENGINE

CDC, 260 HP, Complete

1шт.

For Service Order Basic Engine Below

1шт.

0

399563A1

BASIC ENGINE

Engine Assembly - Basic

1шт.

Includes All Parts Except Starter,Alternator, Fan, Fan Belt, Air Cleaner, Muffler, Exhaust Manifold, Flywheel And Housing, Oil fill And Dipstick, Fuel Ingection Pump, Injectors And Lines, Front Pulley, Belt Tensioner, Turbocharge

1шт.

0

399563A1R

REMAN-BASIC ENGINE

Reman For New PN 399563A1

1шт.

0

399563A1C

CORE-BASIC ENGINE

Return Part Number

1шт.

Component Parts Shown On This Page Do Not Apply To The Remanufactured Assembly

1шт.

0

6-830-LBC

CORE-BASIC ENGINE

Return Part Number

1шт.

Use This Part Number To Return Engine Core For Credit When Using A Remanufactured Assembly

1шт.

0

JR934600

ENGINE, EXCHANGE

Engine (Echange) Block Assembly - Short, Remanufactured

1шт.

0

JC934600

CORE-ENGINE

Return Part Number

1шт.

Component Parts Shown On This Page Do Not Apply To The Remanufactured Assembly

1шт.

0

6-830-SHBC

CORE

Return Part Number\r\n Engine 6T-830 Basic

1шт.

Use This Part Number To Return Block Core For Credit When Using A Remanufactured Assembly

1шт.

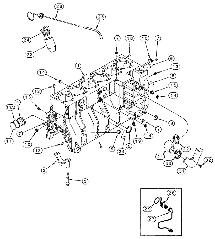
1

J934600

SKELETON ENGINE

Block Assembly- Short, New

1шт.

Includes Stripped Block, Pistons, Connecting Rods And Bearings, Crankshaft And Bearings

1шт.

2

J936058

BEARING CAP

Bearing, Main

7шт.

3

J916369

FLANGE BOLT,Hex, M14 x 2 x 128mm, Cl 10.9

14шт.

4

J945329

CAMSHAFT BEARING,60.08mm ID x 64.13mm OD x 25mm L

Bushing

7шт.

See Fig. 03-016, Ref. 6

1шт.

5

A77782

PLUG

Expansion, 58 mm od

1шт.

6

A77586

PLUG

Expansion, 28.9 mm od

1шт.

7

A77506

PLUG

Expansion, 21 mm od

4шт.

8

J905401

PLUG

Expansion, 35 MM OD

4шт.

9

J920706

PLUG

Expansion, 22 MM OD

1шт.

10

J920443

PLUG

Expansion, 30 mm od

2шт.

11a

J926048

O-RING,0.07" Thk x 2.614" ID, -38, Cl 5, 75 Duro

Seal

1шт.

11

41-3044

PLUG,Exp, 2 3/4"

1шт.

12

J901846

PIN,12.01mm OD x 24mm L

Dowel

4шт.

13

J906619

PLUG,1/8" - 27

pipe, 1/8-27 hex socket

7шт.

14

444704

PLUG,Hex Soc, 1/2"-14

4шт.

15

263136

MAGNETIC PLUG,Sq. Soc, 3/4"-14 NPTF

PLUG, MAGNETIC

2шт.

16

86625135

PLUG,1" - 11-1/2 NPT

1шт.

17

J928031

NOZZLE,8.5mm OD x 30mm L

Piston Cooling

12шт.

18

J900257

PIN,10.01mm OD x 16mm L

10 mm x 16 mm long

2шт.

19

217-103

COCK, DRAIN

valve, 1/4" PT

1шт.

21

J920762

ELBOW

Hose - Water

1шт.

22

J918521

HOSE CLAMP,59mm - 83mm

ADJ., 1-13/16 - 2-3/4 Inch Dia, Coolant

1шт.

23

J905408

TUBE,35.13 mm ID x 52.39 mm OD x 100 mm L

Oil Filler

1шт.

24

A77424

FILLER CAP

Filler Cap

1шт.

25

J928896

TUBE,9.52 mm OD x 239.2, 123.7 mm L

Oil Dipstick

1шт.

25

87437525

TUBE

Oil Dipstick Tube, Used If Dipstick is 3' Long

1шт.

26

J928895

DIPSTICK

Oil

1шт.

26

87437526

DIPSTICK

Oil, Used If Dipstick is 3' Long

1шт.

34

J900955

PLUG

Unused Dipstick Hole

1шт.

34a

196804A1

KIT

Engine Block Heater

1шт.

27

87105748

ELECTRIC CABLE,120V, 15A

1829 mm (72") (Engine Block Heater, 120 Volt)

1шт.

28

NSS

NOT SOLD SEPARAT

Element - Heater, 120 Volt, Engine Block

1шт.

29

J910517

O-RING

Heater Sealing, Engine Block

1шт.

30

87557087

CABLE TIE

CABLE STRAP 11" with stainless locking clip

1шт.

Engine Block Heater

1шт.

31

J907208

TUBE,50.8 mm DIA x 295.3 mm L

Water Inlet, Engine Block Heater

1шт.

32

845-8016

BOLT,Hvy Hex, M8 x 16mm, Cl 8.8

1шт.

Engine Block Heater

1шт.

33

J922847

CLAMP

Hose, Engine Block Heater

1шт.

33a

A78017

REPAIR KIT

Engine Overhaul, Consists Of: Engine Block Heater

1шт.

33b

A77912

PACKAGE, REPAIR

Kit, Piston and Sleeve, Engine

6шт.

33c

87443389

BEARING LINER

Kit - Upper And Lower, Standard

6шт.

33d

J934046

PISTON PIN,45mm OD x 91mm L

Engine Block Heater

6шт.

33e

J945930

BEARING SET

Main, Upper and Lower Set, Standard

6шт.

33f

J945929

THRUST BEARING

Main Thrust, Upper And Lower Set, Standard

1шт.

33g

A77976

GASKET KIT

Valve Grind W/Hi Temp. EXH - Fam II, Engine Block Heater

1шт.

33h

J938267

CYLINDER HEAD GASKET,2.01mm Thk

Engine Block Heater

1шт.

33j

87308050

GASKET,0.95mm Thk

Oil Pan

1шт.

Выбрано товаров: 64