Качественные детали и логистика
Оригинальные и аналоговые запчасти с доставкой по России, Казахстану и Беларуси
©2022 PartSell ООО "Система" ИНН 2463123282 ОГРН 1212400004838
Центральный офис: г. Красноярск, Академика Киренского, д.87, пом.4
Телефон: 8 (800) 777-65-74 Email: zakaz@partsell.ru
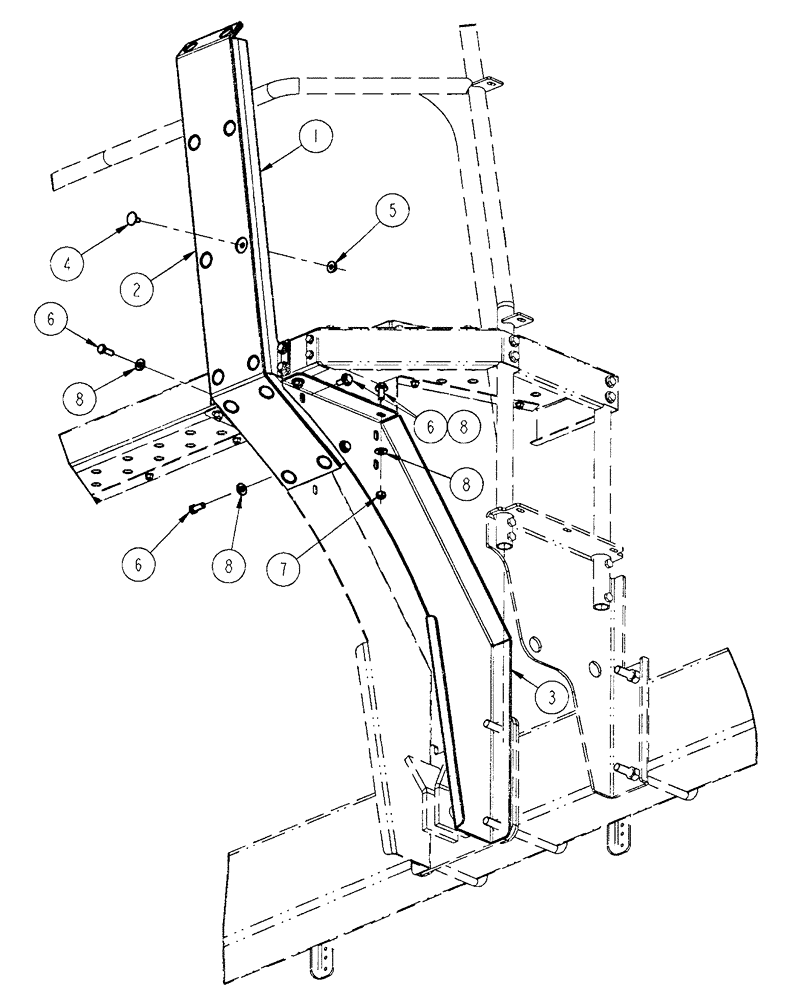
(08-013) - GUIDE, LH BOOM
№
Артикул
Название
Примечание
Количество
1
BN312158
GUIDE
LH
1шт.
2
BN313030
Liner Boom
3
BN320598
PANEL
Mount, Walkway
4
BN50014
BOLT
5/16"-18 x .75, EH
10шт.
5
BN50057
LOCK NUT,Lock, 5/16"-18, Stainless Steel
6
11106231
BOLT,Hex, M10 x 1.5 x 25mm, Cl 10.9
7
100037
LOCK NUT,M10 x 1.5, Cl 8
8
86639325
WASHER,10.8mm ID x 24.5mm OD x 3mm Thk
Выбрано товаров: 0