Запчасти Case IH SPX4260 (07-004) - INNER BOOM FOLD Cylinders

Схема запчастей Case IH SPX4260 - (07-004) - INNER BOOM FOLD Cylinders
2
3
3
4
5
6
1
FIT
1:1
100%

Артикул

Название

Примечание

Количество

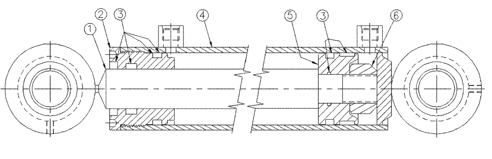
1

BN323999

SHAFT

1шт.

2

BN316739

GLAND

1шт.

3

BN316740

SEAL KIT

1шт.

4

BN324000

TUBE

1шт.

5

BN310605

PISTON

1шт.

6

BN310606

LOCK NUT

1-14UNS

1шт.

BN322063

HYDRAULIC CYLINDER,Double Acting, 34.92mm Rod, 549.27mm Stroke

Complete Inner Boom Fold

1шт.

BN322063R

REMAN-HYD CYLINDER

SPX4260 SPRAYER (11/01-6/04)

1шт.

BN322063C

CORE-HYD CYLINDER

Return Number

1шт.

Выбрано товаров: 9