Качественные детали и логистика
Оригинальные и аналоговые запчасти с доставкой по России, Казахстану и Беларуси
©2022 PartSell ООО "Система" ИНН 2463123282 ОГРН 1212400004838
Центральный офис: г. Красноярск, Академика Киренского, д.87, пом.4
Телефон: 8 (800) 777-65-74 Email: zakaz@partsell.ru
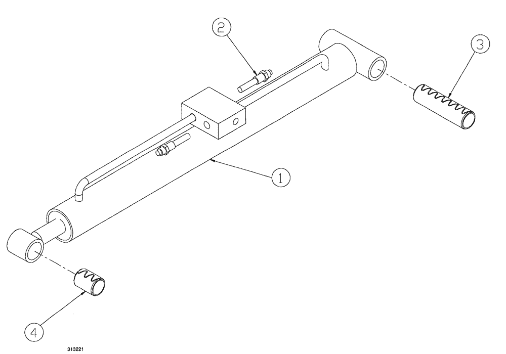
(130) - BOOM HEIGHT ADJUSTMENT CYLINDER ASSEMBLY
№
Артикул
Название
Примечание
Количество
1
NSS
NOT SOLD SEPARAT
CYLINDER, boom HT ADJ
2шт.
See Fig. 200
1шт.
2
342104A1
VALVE
Counterbalance 3000 psi
2a
344010A1
SEAL KIT
for T-11A cavity
Indicates service parts for above ref. number
Includes 3 o-rings and 3 back-up washers
3
BN304734
BUSHING
spring-1 1/4" ID
4
BN304763
Выбрано товаров: 0