Запчасти Case IH SPX4260 (200) - BOOM HEIGHT ADJUST (78) - SPRAYING

Схема запчастей Case IH SPX4260 - (200) - BOOM HEIGHT ADJUST (78) - SPRAYING
4
3
1
6
3
7
5
2
FIT
1:1
100%

Артикул

Название

Примечание

Количество

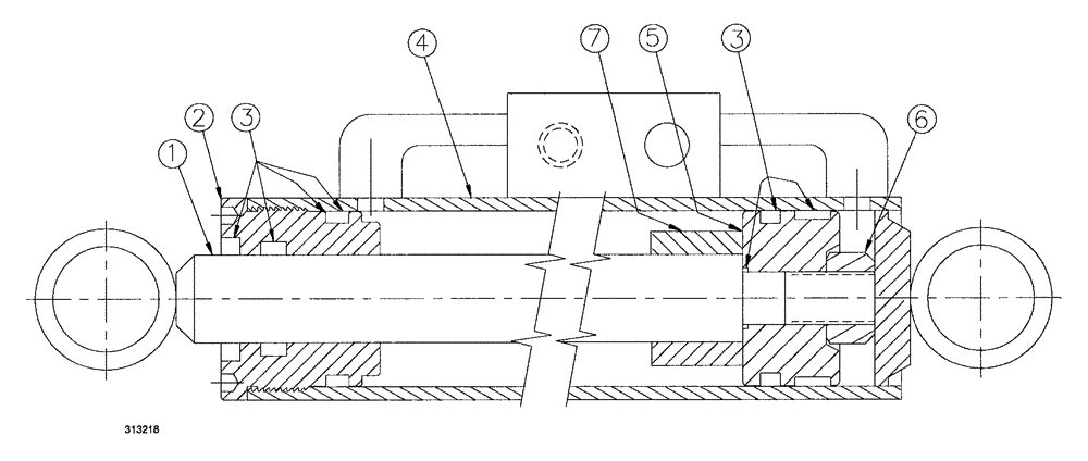
1

BN310557

SHAFT

cylinder

1шт.

2

BN98650

GLAND

end -CYL.

1шт.

3

BN98643

SEAL KIT

Hyd. Cylinder (53906)

1шт.

4

BN313419

CYLINDER

tube

1шт.

5

BN98651

PISTON

For Cylinder #25486

1шт.

6

BN98093

LOCK NUT

Jam, 3/4"-16

1шт.

7

BN310563

BLOCK

stroke (5.5")

1шт.

Выбрано товаров: 7