Качественные детали и логистика
Оригинальные и аналоговые запчасти с доставкой по России, Казахстану и Беларуси
©2022 PartSell ООО "Система" ИНН 2463123282 ОГРН 1212400004838
Центральный офис: г. Красноярск, Академика Киренского, д.87, пом.4
Телефон: 8 (800) 777-65-74 Email: zakaz@partsell.ru
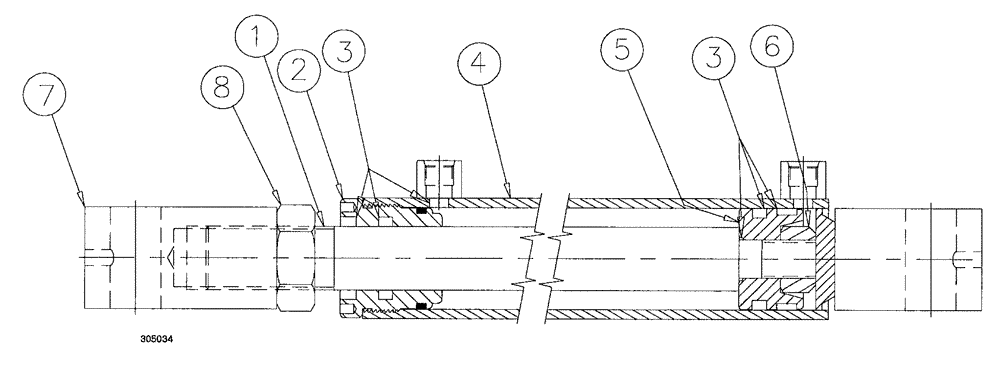
(202) - OUTER BOOM FOLD
№
Артикул
Название
Примечание
Количество
1
BN305499
SHAFT
1шт.
2
BN98522
GLAND
End, For Cylinder BN52305
3
BN305501
SEAL PACKAGE
KIT :URETHANE O-RING
4
BN305502
CYLINDER
TUBE weldment
5
BN305503
PISTON
6
BN305504
LOCK NUT
3/4- 16 UNF
7
BN305505
CLEVIS
eye threaded
8
BN2294429
JAM NUT
Jam 1 1/4"-12
Выбрано товаров: 0