Запчасти Case IH SPX4260 (230) - RAVEN PLUMBING GROUP (78) - SPRAYING

Схема запчастей Case IH SPX4260 - (230) - RAVEN PLUMBING GROUP (78) - SPRAYING
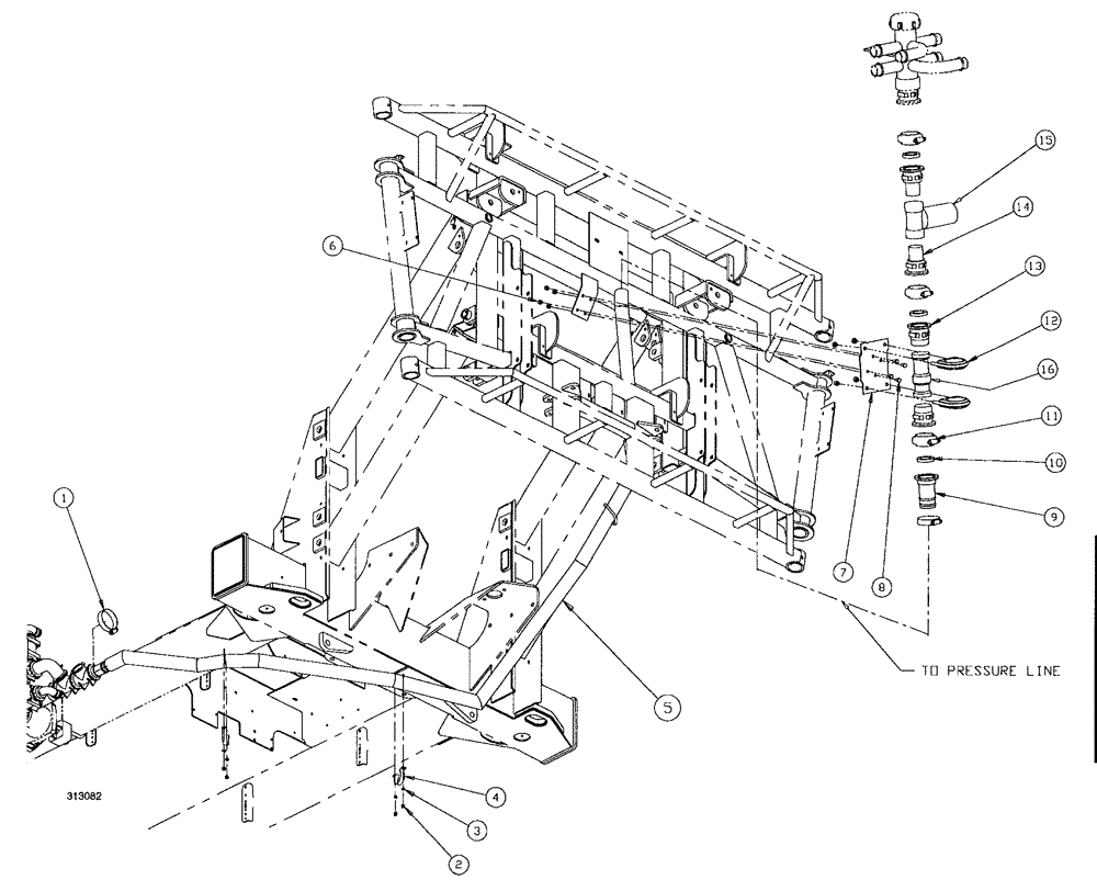
5
3
15
13
12
16
1
7
6
9
8
2
11
14
4
10
FIT
1:1
100%

Артикул

Название

Примечание

Количество

1

BN2403358

CLAMP,50.8mm - 63.5mm

T-Bolt Band 2 1/2"

2шт.

2

86528579

NUT,M8 x 1.25

4шт.

3

BN300497

WASHER,M8, 10.9

4шт.

4

BN320384

U-BOLT

BOLT "U" Clamp, 2" Pipe

2шт.

5

BN313088

HOSE,2.00" ID x 13.50'

EPDM

1шт.

6

BN304419

NUT

M10-1.5, NLN, 10.9

4шт.

7

BN308002

MOUNTING PARTS

meter

1шт.

8

BN301044

BOLT,Hex, M10 x 20, 10.9, Full Thd

4шт.

9

405780A1

FITTING,2" Flange x 2" Hose Barb

2" Flange x 2" Hose Barb, Poly

1шт.

10

BN303204

GASKET,1-1/2" EPDM Gasket

2" Flange, EPDM

3шт.

11

BN303199

CLAMP,2" Flange

2" Standard Flange

3шт.

12

BN307786

CLAMP

U-bolt W/INRT, 3.5 ID

2шт.

13

BN303185

ADAPTER,2" Flange x 2" Male NPT, Poly

2" Flange x 2" NPT

2шт.

14

BN306902

FITTING,2" Flange x 1-1/4" Male NPT, Poly

Straight 2" Flange x 1.25 Male

2шт.

15

BN302855

VALVE

1 1/2" 440 Assembly

1шт.

16

BN306098

METER

flow- RFM 100

1шт.

Выбрано товаров: 16