Запчасти Case IH SPX4260 (006) - THROTTLE & HYDROSTAT (10) - ENGINE

Схема запчастей Case IH SPX4260 - (006) - THROTTLE & HYDROSTAT (10) - ENGINE
8
12
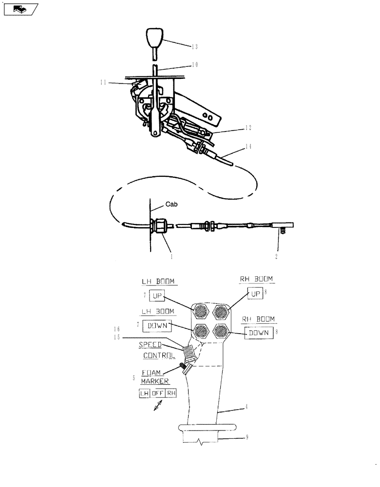
1
11
7
4
9
13
16
10
7
14
2
5
15
8
home
FIT
1:1
100%

Артикул

Название

Примечание

Количество

1

BN66117

NUT

Strain Relief-Shift Cable

2шт.

2

JOINT ball (30# SPRING) (See Figure 82)

1шт.

4

BN66114

HANDLE

Incl 5, 7, 8

1шт.

5

BN98892

SWITCH

Toggle, On-Off-On (Foam Marker)

1шт.

+

BN98894

JAM NUT

15/32 Jam

1шт.

Indicates associated part

1шт.

7

BN98670

SWITCH

Push Button (LH Boom Function)

2шт.

+

BN98673

BOOT

Yellow

2шт.

Indicates associated part

1шт.

8

BN98670

SWITCH

Push Button (RH Boom Function)

2шт.

+

BN98672

BOOT

Green

2шт.

Indicates associated part

1шт.

9

BN29986

INSERT

Grip, 1" Dia x 1.6" Nylon

1шт.

10

BN306361

CONTROL

throttle

1шт.

11

BN98249

NEUTRAL START SWITCH

Micro Safe

1шт.

12

BN98248

SWITCH

Backup

1шт.

13

BN98247

KNOB

Assembly - Throttle

1шт.

14

CONTROL cable (202") (See Figure 82)

1шт.

15

87268443

THROTTLE CONTROL

Speed Control Pot

1шт.

16

BN315307

KNOB

Speed Control Knob

1шт.

Выбрано товаров: 20