Качественные детали и логистика
Оригинальные и аналоговые запчасти с доставкой по России, Казахстану и Беларуси
©2022 PartSell ООО "Система" ИНН 2463123282 ОГРН 1212400004838
Центральный офис: г. Красноярск, Академика Киренского, д.87, пом.4
Телефон: 8 (800) 777-65-74 Email: zakaz@partsell.ru
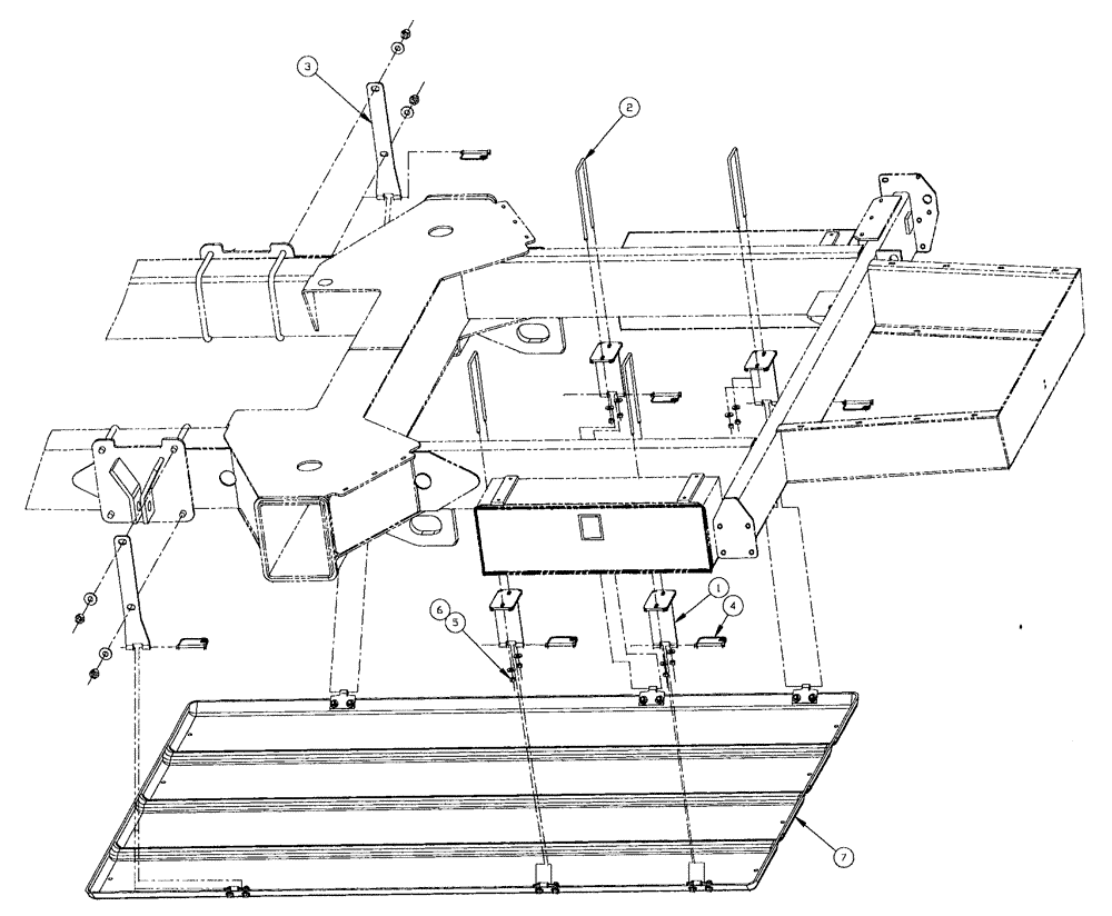
(292) - MIDDLE BELLY PAN ASSEMBLY
№
Артикул
Название
Примечание
Количество
1
BN310756
MOUNTING PARTS
front, pan
4шт.
2
BN313311
U-BOLT
BOLT "U" M8 x 8.63 x 3.06
3
BN310759
side
2шт.
4
BN311775
PIN
snap, safety
6шт.
5
BN300506
WASHER
M8, Stainless Steel
8шт.
6
86528579
NUT,M8 x 1.25
7
ASSY, PAN (middle) (See Figure 293)
1шт.
Выбрано товаров: 0