Качественные детали и логистика
Оригинальные и аналоговые запчасти с доставкой по России, Казахстану и Беларуси
©2022 PartSell ООО "Система" ИНН 2463123282 ОГРН 1212400004838
Центральный офис: г. Красноярск, Академика Киренского, д.87, пом.4
Телефон: 8 (800) 777-65-74 Email: zakaz@partsell.ru
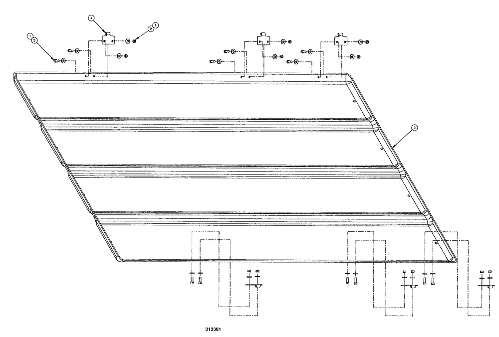
(293) - MIDDLE PAN ASSEMBLY
№
Артикул
Название
Примечание
Количество
1
BN300506
WASHER
M8, Stainless Steel
24шт.
2
86528579
NUT,M8 x 1.25
12шт.
3
BN310702
PAN ASSY.
belly, long
1шт.
4
BN310771
HINGE
pan
6шт.
5
43234
BOLT,Hex, M8 x 1.25 x 25mm, Cl 10.9, Full Thd
Part available only through Case's North American Parts Organization (NAPO).
Выбрано товаров: 0